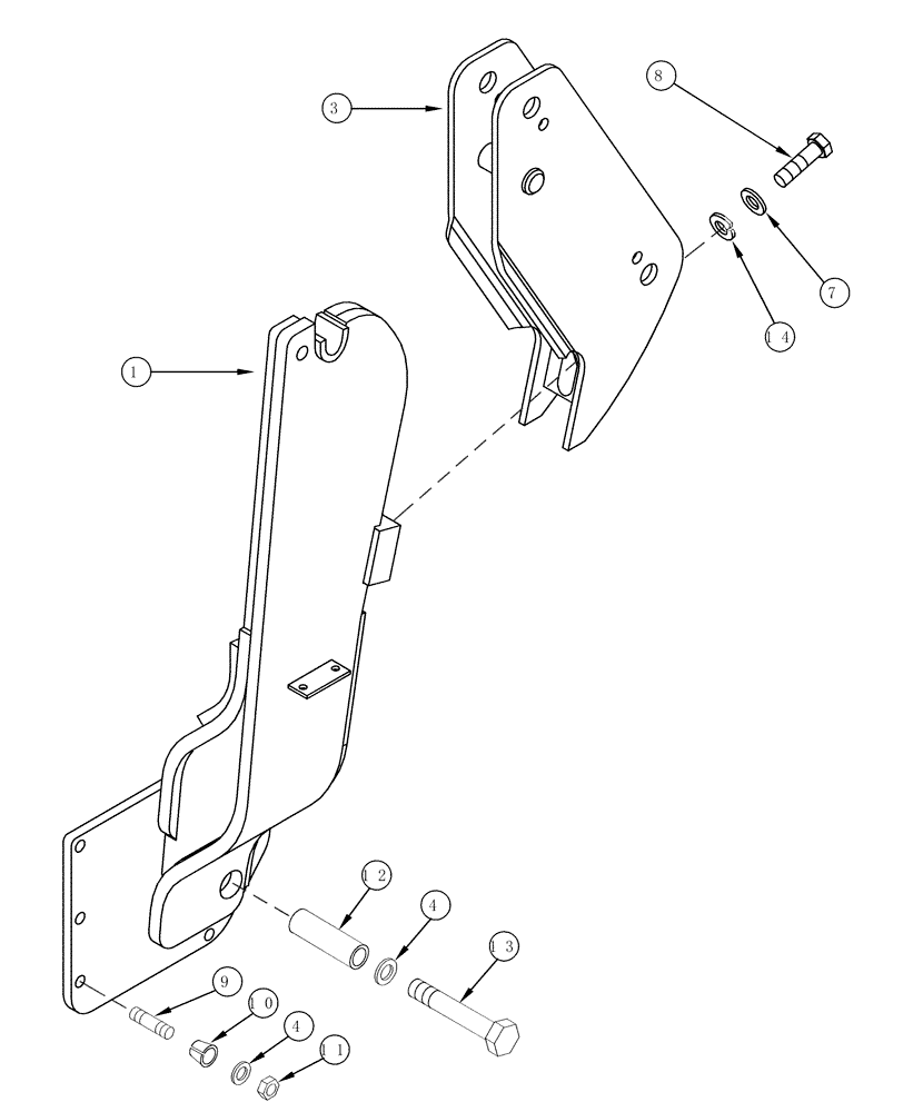
Запчасти Case IH L655 (09-04) - MOUNTING BRACKETS MX100 - MX135 (09) - CHASSIS/ATTACHMENTS

Схема запчастей Case IH L655 - (09-04) - MOUNTING BRACKETS MX100 - MX135 (09) - CHASSIS/ATTACHMENTS
11
9
12
8
3
4
10
4
13
1
14
7
FIT
1:1
100%

Артикул

Название

Примечание

Количество

1

349209A4

BRACKET

Right Hand

1шт.

1

349210A4

BRACKET

Left Hand, Not Illustrated

1шт.

3

321024A3

LEVER

2шт.

4

896-11020

WASHER,22mm ID x 37mm OD x 4mm Thk

22 x 37 x 4 mm

14шт.

7

496-31106

WASHER,1 1/16" x 2" x .219", HDN

1-1/16 x 2 x 7/32

2шт.

8

426-1656

BOLT,Hex, 1" - 8 x 3-1/2", Gr 8

1 x 3-1/2

2шт.

9

382111A1

STUD

20 mm

12шт.

10

381677A1

SPACER,21mm ID x 31.75mm OD x 19.05mm L

Tapered

12шт.

11

832-41420

NUT,M20 x 2.5, Cl 10

M20

12шт.

12

388233A1

SPACER

2шт.

13

827-20220

BOLT,Hex, M20 x 2.5 x 220mm, Cl 10.9

M20 x 220; 10.9

2шт.

14

492-11100

LOCK WASHER,1"

1"

2шт.

Выбрано товаров: 12