Запчасти Case IH L725 (35.310.AP[08]) - VAR - 713630006 - CONVERSION KIT - OLD HYDRAULICS TO LCS (35) - HYDRAULIC SYSTEMS

Схема запчастей Case IH L725 - (35.310.AP[08]) - VAR - 713630006 - CONVERSION KIT - OLD HYDRAULICS TO LCS (35) - HYDRAULIC SYSTEMS
2
4
7
3
2
8
6
5
9
home
1
FIT
1:1
100%

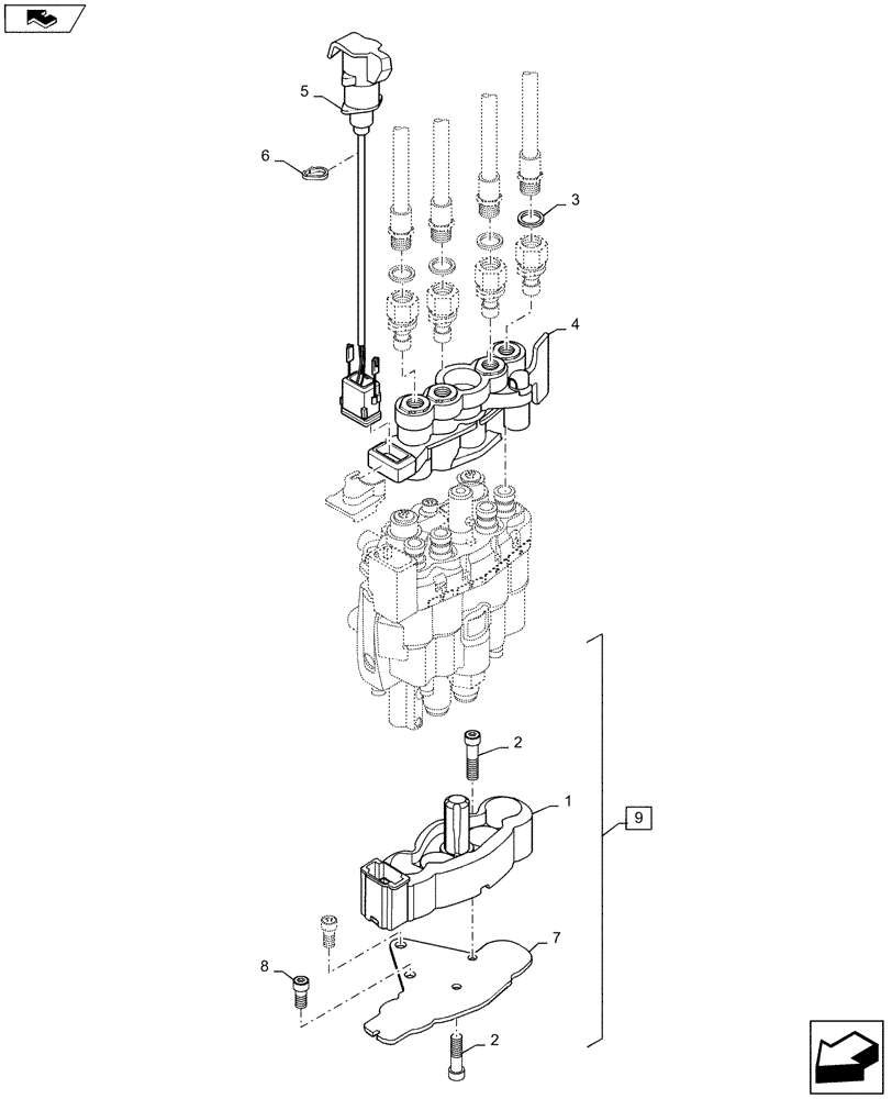
Артикул

Название

Примечание

Количество

1

LDR5034234

SUPPORT

Parking

1шт.

2

NSS

NOT SOLD SEPARAT

Screw, Incl 1

2шт.

3

LDR5013853

WASHER

4шт.

4

LDR5044949

COUPLING

MC-4

1шт.

5

LDR5102123

CABLE

1шт.

6

LDR5033621

CABLE CLIP

6шт.

7

LDR5034122

BRACKET

1шт.

8

LDR5004061

SCREW

2шт.

9

NS

NOT SERVICED

Wholegoods Conversion Kit, LCS, 713630006, Incl 1 - 8

1шт.

Выбрано товаров: 9