Запчасти Case IH L740 (35.525.AA[04]) - VAR - 717532006 - HYDRAULIC HOSE KIT (35) - HYDRAULIC SYSTEMS

Схема запчастей Case IH L740 - (35.525.AA[04]) - VAR - 717532006 - HYDRAULIC HOSE KIT (35) - HYDRAULIC SYSTEMS
FIT
1:1
100%

Артикул

Название

Примечание

Количество

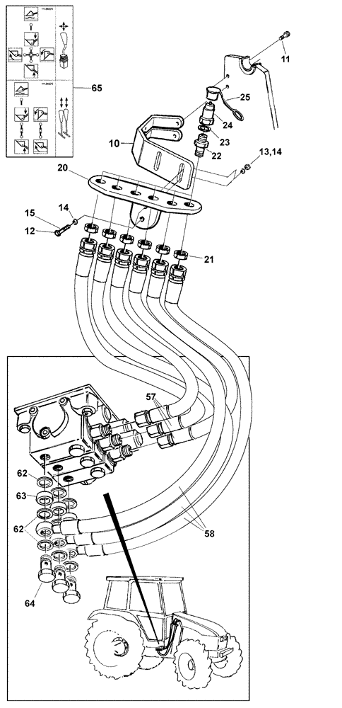
LDR10360023

BRACKET, SUPPORTING

COMPLETE

1шт.

10

LDR10339558

BRACKET, SUPPORTING

1шт.

11

LDR5005999

SCREW,M10 x 45mm

M10 x 45

2шт.

12

LDR5002084

SCREW,M10 x 35mm, Cl 8.8

M10 x 35, 8.8

2шт.

13

LDR5011054

NUT,M10, Cl 8.8

M10

2шт.

14

LDR5013110

WASHER,10.50mm ID x 22mm OD x 2mm

BRB 10,5 x 22 x 2

4шт.

15

LDR5002089

BOLT,M10 x 25mm, Cl 8.8

M10 x 25, 8.8

2шт.

LDR10356942

BRACKET, SUPPORTING

BRACKET COMPL.

1шт.

20

LDR10356941

BRACKET, SUPPORTING

1шт.

21

LDR5011903

NUT

6шт.

22

LDR11120455

END FITTING

GBR 1/2"

6шт.

23

LDR5013853

WASHER

GBR 1/2 '

6шт.

24

LDR5044128

QUICK MALE COUPLING

6шт.

25

LDR5044129

CAP

R 1/2"

6шт.

57

LDR9031555

HOSE

13/16" - 1-1/16" JIC x 1300

3шт.

58

LDR9031554

HOSE

BANJO 1-1/16" JIC x 1250

3шт.

62

LDR20720130

WASHER

tredo 118

9шт.

63

LDR10355470

SPACER

3шт.

64

LDR11120469

SCREW

3шт.

65

LDR11134370

DECAL

1шт.

LDR5033606

CABLE TIE

4шт.

Выбрано товаров: 21