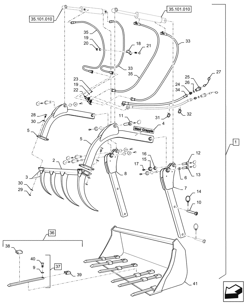
Запчасти Case IH L765 (82.301.550) - VAR - 717496006 - 102", MAXI GRAPPLE MK2 - T (82) - FRONT LOADER & BUCKET

Схема запчастей Case IH L765 - (82.301.550) - VAR - 717496006 - 102", MAXI GRAPPLE MK2 - T (82) - FRONT LOADER & BUCKET
35.101.010
24
13
5
23
15
33
6
30
36
30
32
33
19
22
12
39
29
3
17
35
1
9
5
37
21
16
20
19
10
7
8
2
25
34
11
31
40
38
27
14
26
18
4
41
35
28
35.101.010
FIT
1:1
100%

Артикул

Название

Примечание

Количество

1

NSS

NOT SOLD SEPARAT

Max Grapple MK2 - T, Incl 2 - 41, Order Through Wholegoods 717496006

1шт.

2

LDR11260910

BOX

Maxi Grapple

1шт.

3

LDR11261280

KIT

Claw Kit, Incl Claw And Plate

1шт.

4

LDR1123675

DECAL

Maxi Grapple

2шт.

5

LDR11260643

BEAM

Grapple Claw Support

2шт.

6

LDR5018515

BUSHING,30mm L

2шт.

7

LDR11260651

BRACKET

LH

1шт.

8

LDR11260650

BRACKET

RH

1шт.

9

LDR5013105

WASHER

7шт.

10

LDR1116643

PIVOT PIN

30mm OD, Lower Bracket

4шт.

11

LDR9020043

PIVOT PIN,30mm OD x 105mm L

Lower Beam

2шт.

12

LDR9020046

PIVOT PIN

30mm OD, Upper Bracket

2шт.

13

LDR9020047

PIVOT PIN

30mm OD x 115mm L, Mid Support, Bracket

2шт.

14

LDR1102001

LINCH PIN

Lower Bracket Pivot Pin

4шт.

15

LDR10142893

CAP

Pivot Pin

6шт.

16

LDR5022089

RING

Pivot Pin

6шт.

17

LDR5002076

SCREW

Pivot Pin

6шт.

18

LDR5016968

CLAMP BRACKET

Hydraulic Hose

2шт.

19

LDR5013101

WASHER,8.40mm ID x 16mm OD x 1.50mm Thk

6шт.

20

LDR5011553

NUT,M8

2шт.

21

LDR5002059

SCREW,M8 x 60mm

2шт.

22

LDR10834151

UNION

1шт.

23

LDR5002058

SCREW

M16 x 50mm L

2шт.

24

LDR5027934

HYD CONNECTOR,3/8" x 1/2"

2шт.

25

LDR5044127

COUPLING, QUICK, FEM,1/2"

2шт.

26

LDR5013604

WASHER,21mm ID x 28mm OD

2шт.

27

LDR5044130

PROTECTIVE COVER

Hydraulic Fitting

2шт.

28

LDR5002154

BOLT,M16 x 50mm

8шт.

29

LDR5011557

LOCK NUT,M16

8шт.

30

LDR5013105

WASHER

17mm ID x 30mm OD x 3mm Thk

16шт.

31

LDR5022177

CABLE TIE

Red

1шт.

32

LDR5022179

CABLE TIE

Blue

1шт.

33

LDR1103162

FLEXIBLE HOSE,1500mm L

Hydraulic Cylinder, Rear

2шт.

34

LDR1103116

FLEXIBLE HOSE,550mm L

Valve to Coupler

2шт.

35

LDR1103110

FLEXIBLE HOSE,1800mm L

Hydraulic Cylinder, Front

2шт.

36

LDR10834140

TINE

Tine Kit, Incl 9, 37 - 40

7шт.

37

LDR10834142

TINE

Incl 9, 38, 40

7шт.

38

LDR10834138

BRACKET, SUPPORTING

Mid

7шт.

39

LDR10834147

BRACKET, SUPPORTING

Rear

7шт.

40

LDR5002151

BOLT

7шт.

41

LDR11260122

BUCKET

102" HD

1шт.

Выбрано товаров: 41