Запчасти Case IH L775 (35.525.AA[11]) - VAR - 713628006 - 2 FUNCTION MMV HOSE KIT FOR PUMA 115 - 210 (35) - HYDRAULIC SYSTEMS

Схема запчастей Case IH L775 - (35.525.AA[11]) - VAR - 713628006 - 2 FUNCTION MMV HOSE KIT FOR PUMA 115 - 210 (35) - HYDRAULIC SYSTEMS
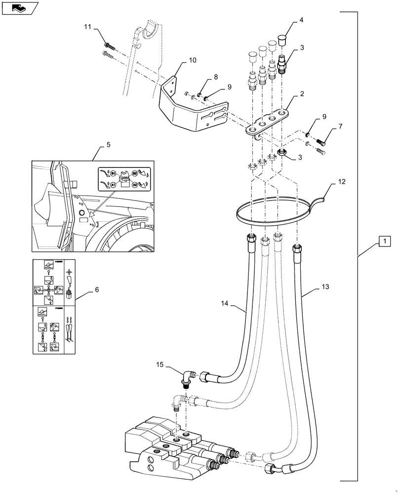
15
6
2
12
9
9
7
13
3
8
14
11
5
home
10
4
1
3
FIT
1:1
100%

Артикул

Название

Примечание

Количество

2

LDR10414057

BRACKET

Support

1шт.

3

LDR5044983

QUICK MALE COUPLING

4шт.

4

LDR5040090

DUST CAP

4шт.

5

LDR11136095

DECAL

Joystick Control

1шт.

6

LDR11134370

DECAL

Joystick Control

1шт.

7

LDR5002053

SCREW,M8 x 30mm L

2шт.

8

LDR5011053

NUT

2шт.

9

LDR5013101

WASHER,8.40mm ID x 16mm OD x 1.50mm Thk

4шт.

10

LDR10391712

BRACKET

Support

1шт.

11

LDR5005999

SCREW,M10 x 45mm

2шт.

12

LDR5033606

CABLE TIE

6шт.

13

LDR9032076

FLEXIBLE HOSE,1100mm L

2шт.

14

LDR9032058

FLEXIBLE HOSE,1300mm L

2шт.

15

LDR5028048

ADAPTER,M18 x 1.5 - 13/16" UNF

2шт.

Выбрано товаров: 14