Запчасти Case IH L780 PRO (82.300.AQ[13]) - VAR - 717450006 - BALE SPIKE (82) - FRONT LOADER & BUCKET

Схема запчастей Case IH L780 PRO - (82.300.AQ[13]) - VAR - 717450006 - BALE SPIKE (82) - FRONT LOADER & BUCKET
8
10
9
2
3
7
1
FIT
1:1
100%

Артикул

Название

Примечание

Количество

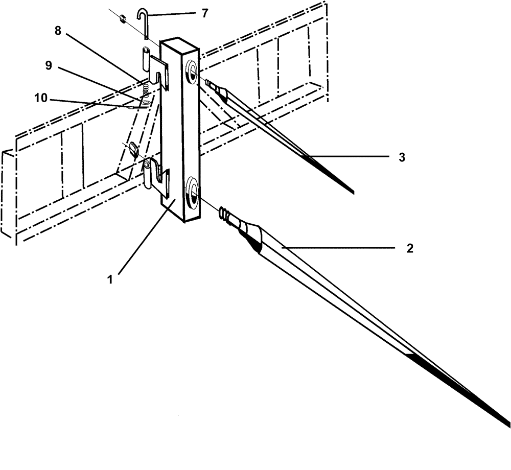
1

LDR1215032

SUPPORT

1шт.

2

LDR5068004

TINE,1250mm

1шт.

3

LDR809217

TINE,810mm

1шт.

7

LDR841132

SPRING

1шт.

8

LDR1101017

SPRING

1шт.

9

LDR5013103

WASHER,12mm ID x 22mm OD

1шт.

10

LDR5016106

PIN

1шт.

11

LDR830535

FRAME

1шт.

Выбрано товаров: 8