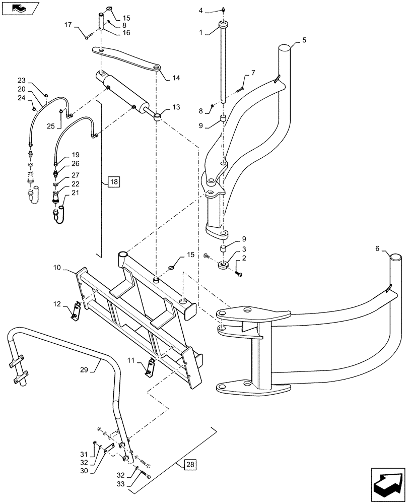
Запчасти Case IH L785 (90.105.AR[01]) - VAR - 717474006 - HEAVY DUTY BALE GRIP 63" (90) - PLATFORM, CAB, BODYWORK AND DECALS

Схема запчастей Case IH L785 - (90.105.AR[01]) - VAR - 717474006 - HEAVY DUTY BALE GRIP 63" (90) - PLATFORM, CAB, BODYWORK AND DECALS
home
7
6
25
28
14
8
5
26
12
27
23
19
33
32
15
3
31
17
16
10
32
18
1
2
15
8
21
13
29
24
9
11
20
4
9
30
22
FIT
1:1
100%

Артикул

Название

Примечание

Количество

1

LDR1116703

PIN

2шт.

2

LDR5005444

SCREW

4шт.

3

LDR1109551

RING

2шт.

4

LDR5023005

LUBE NIPPLE

2шт.

5

LDR11260383

ARM

LH

1шт.

6

LDR11260384

ARM

RH

1шт.

7

NSS

NOT SOLD SEPARAT

Screw, Incl in Wholegoods 717474006

2шт.

8

LDR5011554

NUT,M10

4шт.

9

LDR5018517

RUBBER BUSHING

4шт.

10

NSS

NOT SOLD SEPARAT

Frame, Incl in Wholegoods 717474006

1шт.

11

LDR830557

SUPPORT

RH

1шт.

12

LDR830556

SUPPORT

LH

1шт.

13

LDR12702410

CYLINDER,Double Acting, 40mm Rod, 285mm Stroke

1шт.

14

LDR1209758

LINK

1шт.

15

LDR1102001

LINCH PIN

2шт.

16

LDR1116701

PIN

2шт.

17

LDR5004082

SCREW

2шт.

18

LDR10377023

KIT

1шт.

19

LDR1103147

FLEXIBLE HOSE

Incl 19 - 27

1шт.

20

LDR1103113

FLEXIBLE HOSE

1шт.

21

LDR5044130

PROTECTIVE COVER

2шт.

22

LDR5044127

COUPLING, QUICK, FEM,1/2"

2шт.

23

LDR5022177

CABLE TIE

1шт.

24

LDR5022179

CABLE TIE

1шт.

25

LDR5033606

CABLE TIE

1шт.

26

LDR1120011

HYD CONNECTOR

2шт.

27

LDR5013604

WASHER,21mm ID x 28mm OD

2шт.

28

NSS

NOT SOLD SEPARAT

Back Screen, Incl 29-33, Order Wholegoods 717474006

1шт.

29

LDR11260966

PROTECTION PLATE

1шт.

30

LDR11260969

PLATE

4шт.

31

LDR5011555

NUT,M12

8шт.

32

LDR5013103

WASHER,12mm ID x 22mm OD

16шт.

33

LDR5002111

SCREW

8шт.

Выбрано товаров: 33