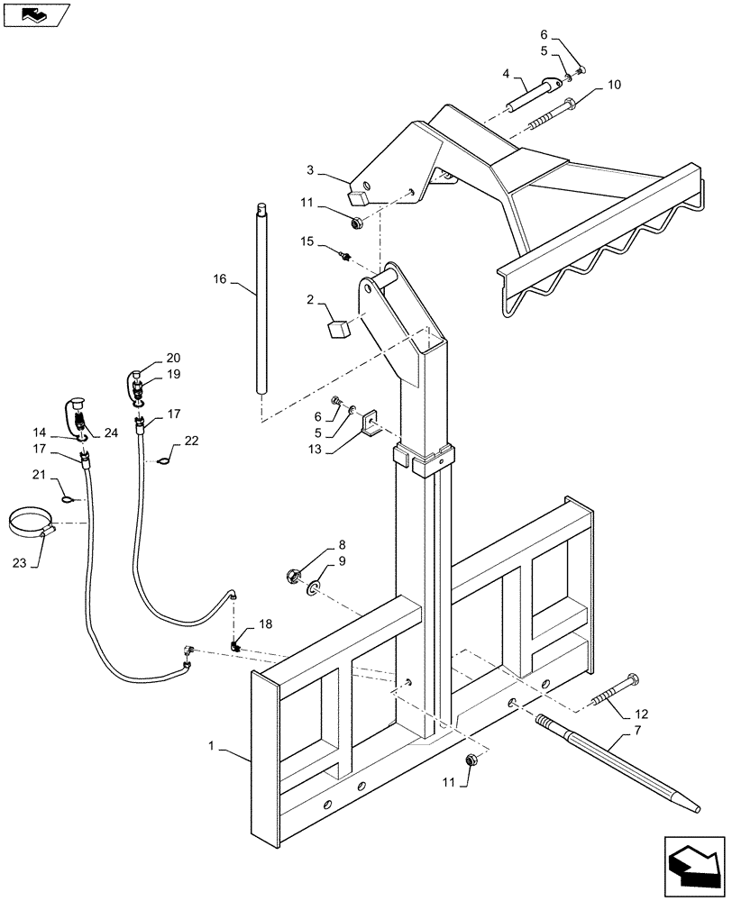
Запчасти Case IH L785 (35.734.AA[06]) - VAR - 717482006 - BALE HANDLER DB4000 (35) - HYDRAULIC SYSTEMS

Схема запчастей Case IH L785 - (35.734.AA[06]) - VAR - 717482006 - BALE HANDLER DB4000 (35) - HYDRAULIC SYSTEMS
23
20
home
17
6
11
3
17
13
5
10
6
11
16
1
18
15
14
5
12
9
24
8
21
7
22
19
4
2
FIT
1:1
100%

Артикул

Название

Примечание

Количество

1

NSS

NOT SOLD SEPARAT

Frame, Incl in 717482006 from Wholegoods

1шт.

2

NSS

NOT SOLD SEPARAT

Mast, Incl in 717482006 from Wholegoods

1шт.

3

NSS

NOT SOLD SEPARAT

Claw, Incl in 717482006 from Wholegoods

1шт.

4

LDR1116654

25 OD x 145

1шт.

5

LDR5013110

WASHER,10.50mm ID x 22mm OD x 2mm

10.5 x 22

1шт.

6

LDR5002076

SCREW

M6S 10 x 20

1шт.

7

LDR5068017

1шт.

8

LDR5011760

1шт.

9

LDR1109568

1шт.

10

LDR5002276

M6S 16 x 160

1шт.

11

LDR5011557

LOCK NUT,M16

M6M 16 Locking

1шт.

12

LDR5002163

SCREW

M6S 16 x 140

1шт.

13

NSS

NOT SOLD SEPARAT

Stop, Incl in 717482006 from Wholegoods

1шт.

14

LDR5044129

CAP

Male

1шт.

15

LDR5023008

LUBE NIPPLE

M8 x 1,25

1шт.

16

LDR773010

Dia. 50/32

1шт.

17

LDR1103401

M 18 x 1.5 x 850

1шт.

18

LDR5027615

M 18 x 1.5 - 90 Degree

1шт.

19

LDR5044132

M 18 x 1.5 Female

1шт.

20

LDR5044130

PROTECTIVE COVER

Female

1шт.

21

LDR5022177

CABLE TIE

Red

1шт.

22

LDR5022179

CABLE TIE

Blue

1шт.

23

LDR5033606

CABLE TIE

Black

1шт.

24

LDR5044133

M18 x 1.5 Male

1шт.

Выбрано товаров: 24