Запчасти Case IH LX114 (009) - QUICK-ATTACH FACE PLATE

Схема запчастей Case IH LX114 - (009) - QUICK-ATTACH FACE PLATE
15
8
14
3
10
9
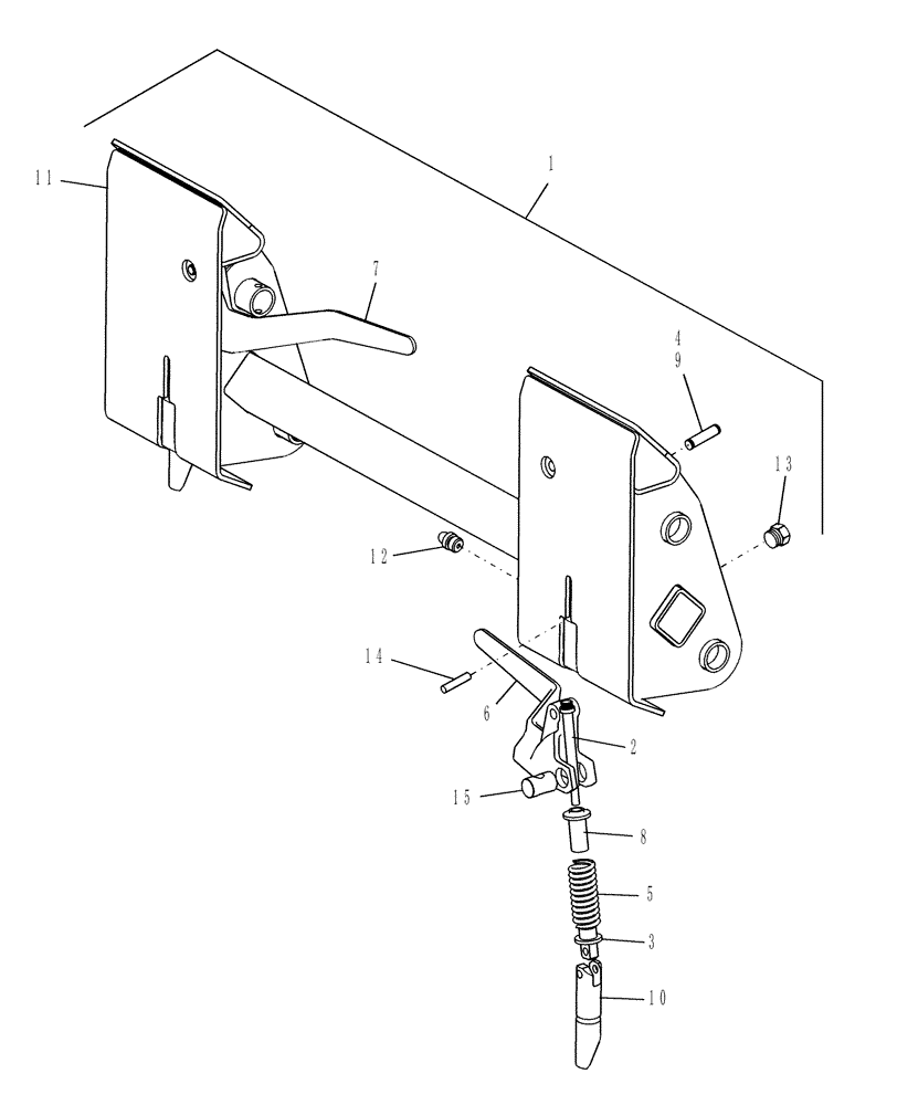
1
2
4
5
11
7
12
6
13
FIT
1:1
100%

Артикул

Название

Примечание

Количество

1

W0

ORDER WHOLEGOODS

Quick-Attach Face Plate

1шт.

716653056

1шт.

2

86506112

12 PT SCREW,1/2" - 3/8" - 16 x 5"

Cap, 12 Pt. Hd., Shoulder, G8, 3/8"-16 x 5"

2шт.

3

86510869

PIN,22.20mm Dia x 43.60mm L

2шт.

4

86538563

PIN,12.7mm OD x 60.6mm L

2шт.

5

86610167

SPRING,Compression, 35.15mm OD x 101.6mm L

2шт.

6

86591458

HANDLE

LH

1шт.

7

86591460

HANDLE

RH

1шт.

8

86610166

GUIDE,13.5mm ID x 22mm OD x 46.6mm L

Spring

2шт.

9

86571009

SNAP RING,#50, Ext

Retaining

4шт.

10

86575348

PIN,31.75mm x 142mm L

Latch

2шт.

11

86605906

PLATE

Mount

1шт.

12

219-87

LUBE NIPPLE,1/4" - 28 NPTF

2шт.

13

217-432

PLUG,Hex Soc, 1/4" - 18 NPTF

Pipe, NPTF

2шт.

14

438-12428

LOCK PIN,3/8" x 1 3/4", Slotted

Groove, Type E, 3/8" x 1-3/4"

2шт.

15

9829733

PIN,25.4mm OD x 39mm L

2шт.

Выбрано товаров: 0