Запчасти Case IH LX730 (35.525.AD[01]) - QUICK COUPLER RELEASE, 4 COUPLER (35) - HYDRAULIC SYSTEMS

Схема запчастей Case IH LX730 - (35.525.AD[01]) - QUICK COUPLER RELEASE, 4 COUPLER (35) - HYDRAULIC SYSTEMS
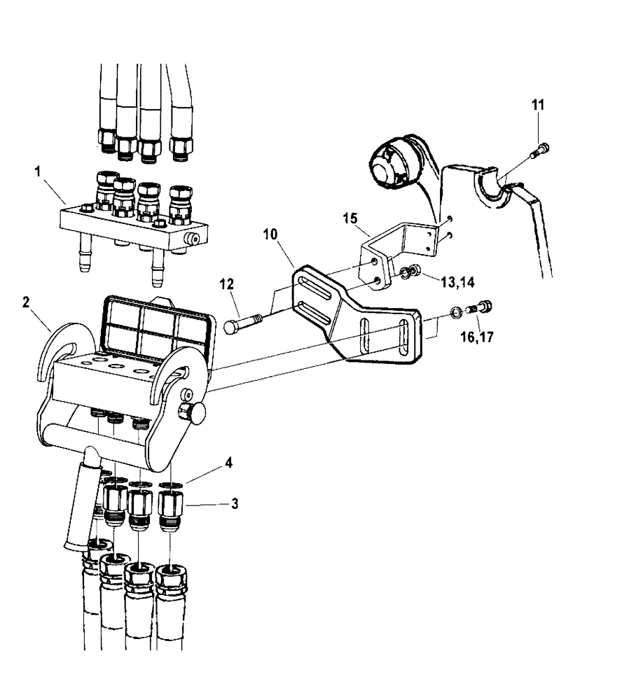
2
1
15
13
16
12
14
10
3
17
4
11
FIT
1:1
100%

Артикул

Название

Примечание

Количество

1

LDR5045403

MOUNTING PLATE

Mobile Part (Loader)

1шт.

2

LDR5044906

MOUNTING PLATE

Fixed Part (Tractor)

1шт.

3

LDR11120459

COUPLING, QUICK, FEM

1-1/16 UNF-M22 x 1,5

4шт.

4

LDR5013905

WASHER

122

4шт.

10

LDR10382842

BRACKET

1шт.

11

LDR5005999

SCREW,M10 x 45mm

M10 x 45

2шт.

12

LDR5002084

SCREW,M10 x 35mm, Cl 8.8

M10 x 35, 8.8

2шт.

13

LDR5011054

NUT,M10, Cl 8.8

M10

2шт.

14

LDR5013110

WASHER,10.50mm ID x 22mm OD x 2mm

BRB 10,5 x 22 x 2

2шт.

15

LDR10382843

BRACKET

1шт.

16

LDR5002052

BOLT

M10 x 25, 8.8

2шт.

17

LDR5013101

WASHER,8.40mm ID x 16mm OD x 1.50mm Thk

BRB 8,4 x 16 x 1,5

2шт.

Выбрано товаров: 0