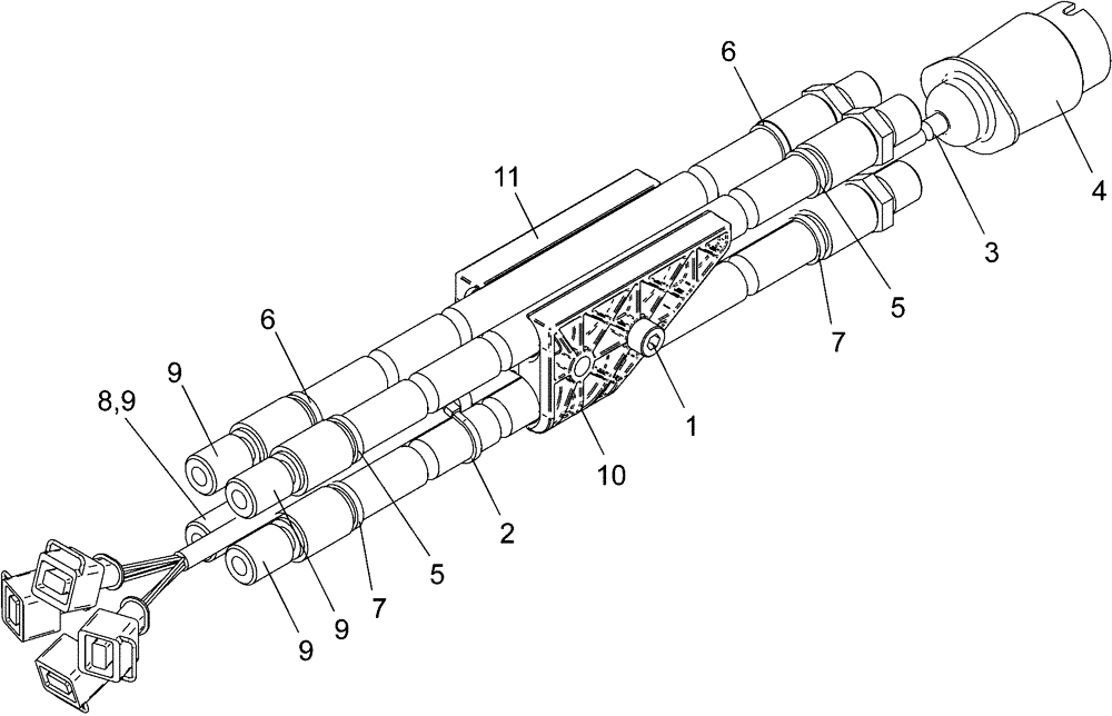
Запчасти Case IH LX760 (35.310.AJ[07]) - MAIN HOSE KIT (35) - HYDRAULIC SYSTEMS

Схема запчастей Case IH LX760 - (35.310.AJ[07]) - MAIN HOSE KIT (35) - HYDRAULIC SYSTEMS
2
7
8
9
1
11
9
9
4
3
6
9
5
6
5
10
7
FIT
1:1
100%

Артикул

Название

Примечание

Количество

LDR9031314

HOSE KIT

Inc. 1 - 11

1шт.

1

LDR5004918

SCREW

1шт.

2

LDR5033621

CABLE CLIP

6шт.

3

LDR5102049

ELECTRIC CABLE

Inc. 4

1шт.

4

LDR5024379

ELEC CONNECTOR

1шт.

5

LDR5103013

SLEEVE

2шт.

6

LDR5103014

SLEEVE

2шт.

7

LDR5103015

SLEEVE

2шт.

8

LDR5103016

SLEEVE

2шт.

9

LDR9031214

FLEXIBLE HOSE

4шт.

10

LDR5215051

CLAMP BRACKET

1шт.

11

LDR5215052

CLAMP BRACKET

1шт.

Выбрано товаров: 12