Запчасти Case IH 1500-SERIES (09-36) - TELESCOPING DRIVELINE (INPUT DRIVE, 1550, 1560, 1570 AND 1580 SPREADER, 1000 RPM)

Схема запчастей Case IH 1500-SERIES - (09-36) - TELESCOPING DRIVELINE (INPUT DRIVE, 1550, 1560, 1570 AND 1580 SPREADER, 1000 RPM)
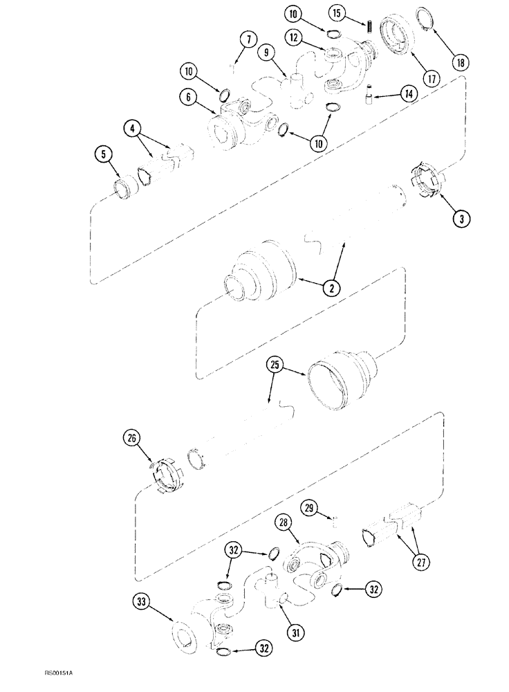
10
33
15
9
12
4
10
29
6
26
7
25
10
3
31
27
28
18
32
17
32
2
32
5
14
FIT
1:1
100%

Артикул

Название

Примечание

Количество

1545174C2

JOINT

SHAFT ASSEMBLY tractor half

1шт.

110093A1

SHIELD

ASSEMBLY driveline

1шт.

2

NSS

NOT SOLD SEPARAT

SHIELD driveline, order P/N 110093A1

1шт.

3

700708773

BEARING COVER

shield, driveline

1шт.

4

110095A1

TUBE,44" OD, 396" Length

yoke

1шт.

5

110041A1

RING NUT

ring

1шт.

6

1988122C1

YOKE

UNIVERSAL JOINT YOKE tractor end

1шт.

7

CAS763896

SPLIT PIN/SAFETY PIN

yoke, tractor

1шт.

700708781

BEARING ASSY

KIT cross and bearing

1шт.

9

NSS

NOT SOLD SEPARAT

CROSS driveline, order P/N 700708781

1шт.

10

NSS

NOT SOLD SEPARAT

RING retaining, order P/N 700708781

4шт.

1545196C1

YOKE

UNIVERSAL JOINT YOKE ASSEMBLY tractor end

1шт.

12

NSS

NOT SOLD SEPARAT

YOKE tractor, order P/N 1545196C1

1шт.

700708790

KIT

ASSEMBLY push, yoke

1шт.

14

NSS

NOT SOLD SEPARAT

PIN push, yoke, order P/N 700708790

1шт.

15

NSS

NOT SOLD SEPARAT

SPRING push pin, yoke, order P/N 700708790

1шт.

700707181

COLLAR

ASSEMBLY yoke

1шт.

17

NSS

NOT SOLD SEPARAT

COLLAR yoke, order P/N 700707181

1шт.

18

NSS

NOT SOLD SEPARAT

RING retaining, collar, order P/N 700707181

1шт.

110097A1

SHAFT

ASSEMBLY implement half

1шт.

110094A1

SHIELD

ASSEMBLY driveline

1шт.

25

NSS

NOT SOLD SEPARAT

SHIELD driveline, order P/N 110094A1

1шт.

26

700708772

BEARING COVER

shield, driveline

1шт.

27

110096A1

TUBE,37" OD, 396" Length

yoke

1шт.

28

700708782

YOKE

UNIVERSAL JOINT YOKE implement end

1шт.

29

763888

SPLIT PIN/SAFETY PIN

roll

1шт.

700708781

BEARING ASSY

KITcross and bearing

1шт.

31

NSS

NOT SOLD SEPARAT

CROSS driveline, order P/N 700708781

1шт.

32

NSS

NOT SOLD SEPARAT

RING retaining, order P/N 700708781

4шт.

33

1545170C1

YOKE

UNIVERSAL JOINT YOKE implement end

1шт.

Выбрано товаров: 0