Запчасти Case IH 275 (L-34) - BUNK FEED BOX, (FOR MACHINES W/FORAGE BOX AND UPPER BEATER),

Схема запчастей Case IH 275 - (L-34) - BUNK FEED BOX, (FOR MACHINES W/FORAGE BOX AND UPPER BEATER),
FIT
1:1
100%

Артикул

Название

Примечание

Количество

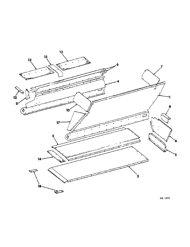
1

820039C1

SECTION, rear side

1шт.

2

820041C1

SECTION, bottom shield

1шт.

180118

BOLT,Hex, 3/8" - 16 x 5/8", Gr 5

3/8 x 5/8"

11шт.

120377

NUT,3/8" - 16, Gr 5

11шт.

120382

LOCK WASHER,Helical Spring, 3/8"

WASHER, LOCK, 3/8"

11шт.

3

820042C1

SECTION, bottom

1шт.

180118

BOLT,Hex, 3/8" - 16 x 5/8", Gr 5

3/8 x 5/8"

10шт.

180121

BOLT,Hex, 3/8" - 16 x 7/8", Gr 5

3/8 x 7/8"

1шт.

120377

NUT,3/8" - 16, Gr 5

11шт.

120382

LOCK WASHER,Helical Spring, 3/8"

WASHER, LOCK, 3/8"

11шт.

4

820043C1

SECTION, front side

1шт.

180118

BOLT,Hex, 3/8" - 16 x 5/8", Gr 5

3/8 x 5/8"

21шт.

113-206

BOLT,Hex, 3/8" - 16 x 3/4", Gr 5, Full Thd

3/8 x 7/8"

1шт.

120377

NUT,3/8" - 16, Gr 5

22шт.

120382

LOCK WASHER,Helical Spring, 3/8"

WASHER, LOCK, 3/8"

22шт.

5

820045C1

SECTION, bottom end RH

1шт.

598809R1

CARRIAGE BOLT,Sht Sq Nk, 3/8" - 16 x 3/4", Gr 5

BOLT, 3/8 x 3/4" crg

4шт.

180121

BOLT,Hex, 3/8" - 16 x 7/8", Gr 5

3/8 x 7/8"

4шт.

120377

NUT,3/8" - 16, Gr 5

8шт.

120382

LOCK WASHER,Helical Spring, 3/8"

WASHER, LOCK, 3/8"

8шт.

6

820046C1

SHIELD

end lower RH

1шт.

180118

BOLT,Hex, 3/8" - 16 x 5/8", Gr 5

3/8 x 5/8"

10шт.

120377

NUT,3/8" - 16, Gr 5

10шт.

120382

LOCK WASHER,Helical Spring, 3/8"

WASHER, LOCK, 3/8"

10шт.

7

820048C1

ASSEMBLY

SECTION, end upper RH

1шт.

180118

BOLT,Hex, 3/8" - 16 x 5/8", Gr 5

3/8 x 5/8"

8шт.

113-206

BOLT,Hex, 3/8" - 16 x 3/4", Gr 5, Full Thd

3/8 x 3/4"

2шт.

120377

NUT,3/8" - 16, Gr 5

10шт.

120382

LOCK WASHER,Helical Spring, 3/8"

WASHER, LOCK, 3/8"

10шт.

8

820049C1

SUPPORT

end RH

1шт.

113-206

BOLT,Hex, 3/8" - 16 x 3/4", Gr 5, Full Thd

3/8 x 3/4"

4шт.

180173

BOLT,Hex, 1/2" - 13 x 1", Gr 5

1шт.

120377

NUT,3/8" - 16, Gr 5

4шт.

120378

NUT,Hex, 1/2" - 13, Gr 5

NUT, 1/2"-13, G5

1шт.

120382

LOCK WASHER,Helical Spring, 3/8"

WASHER, LOCK, 3/8"

4шт.

120384

WASHER,1/2"

LOCK, 1/2"

1шт.

9

820050C1

STRIP

rear spreader cover

2шт.

113-206

BOLT,Hex, 3/8" - 16 x 3/4", Gr 5, Full Thd

3/8 x 3/4"

11шт.

619856R1

WASHER

13/32 x 1 x 16 ga

11шт.

120377

NUT,3/8" - 16, Gr 5

11шт.

120382

LOCK WASHER,Helical Spring, 3/8"

WASHER, LOCK, 3/8"

11шт.

10

820047C1

ASSEMBLY

SECTION, end LH

1шт.

180118

BOLT,Hex, 3/8" - 16 x 5/8", Gr 5

3/8 x 5/8"

5шт.

113-206

BOLT,Hex, 3/8" - 16 x 3/4", Gr 5, Full Thd

3/8 x 3/4"

2шт.

120377

NUT,3/8" - 16, Gr 5

7шт.

120382

LOCK WASHER,Helical Spring, 3/8"

WASHER, LOCK, 3/8"

7шт.

11

820051C1

SUPPORT

front side section

1шт.

180118

BOLT,Hex, 3/8" - 16 x 5/8", Gr 5

3/8 x 5/8"

3шт.

619856R1

WASHER

13/32 x 1 x 16 ga

1шт.

120377

NUT,3/8" - 16, Gr 5

3шт.

120382

LOCK WASHER,Helical Spring, 3/8"

WASHER, LOCK, 3/8"

3шт.

12

820052C1

SUPPORT

bunk feed LH

1шт.

113-206

BOLT,Hex, 3/8" - 16 x 3/4", Gr 5, Full Thd

3/8 x 3/4"

2шт.

180173

BOLT,Hex, 1/2" - 13 x 1", Gr 5

1шт.

120377

NUT,3/8" - 16, Gr 5

2шт.

120378

NUT,Hex, 1/2" - 13, Gr 5

NUT, 1/2"-13, G5

1шт.

120382

LOCK WASHER,Helical Spring, 3/8"

WASHER, LOCK, 3/8"

2шт.

120384

WASHER,1/2"

LOCK, 1/2"

1шт.

13

820053C1

SHEET

spreader bottom

2шт.

14

820054C1

STRIP

conveyor shaft LH cover

1шт.

133891

SCREW, 3/8 x 3/4" flat-hd SLT

4шт.

619856R1

WASHER

13/32 x 1 x 16 ga

4шт.

120377

NUT,3/8" - 16, Gr 5

4шт.

120382

LOCK WASHER,Helical Spring, 3/8"

WASHER, LOCK, 3/8"

4шт.

15

820064C1

SHIELD

spreader box bottom center

1шт.

141662

NAIL, #12 x 3/4" barbed roofing

4шт.

16

820071C1

SUPPORT, chain guide (for use w/feed extension)

2шт.

133827

SCREW, 5/16 x 3/4" flat-hd SLT

4шт.

120376

NUT,5/16"-18, G5

4шт.

80681

LOCK WASHER,5/16"

WASHER, LOCK, 5/16"

4шт.

17

820082C1

SHIELD

rear side

1шт.

180118

BOLT,Hex, 3/8" - 16 x 5/8", Gr 5

3/8 x 5/8"

3шт.

120377

NUT,3/8" - 16, Gr 5

3шт.

120382

LOCK WASHER,Helical Spring, 3/8"

WASHER, LOCK, 3/8"

3шт.

Выбрано товаров: 74