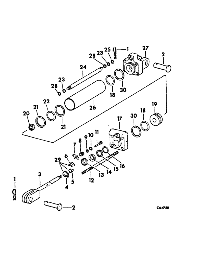
Запчасти Case IH 555 (A-76) - HYDRAULIC CYLINDER, IH, 3.5 X 8 DOUBLE ACTING

Схема запчастей Case IH 555 - (A-76) - HYDRAULIC CYLINDER, IH, 3.5 X 8 DOUBLE ACTING
FIT
1:1
100%

Артикул

Название

Примечание

Количество

371292R95

CYLINDER

ASSY, 3-1/2 x 8 in. da

1шт.

1

520175R1

CLIP

PIN, 3/16 quick attachable cot.

2шт.

2

61571C1

PIN

cylinder pivot

2шт.

3

60784C91

ROD

ASSY, piston

1шт.

4

361085R91

CLAMP

ASSY, stroke limit collar

1шт.

5

360372R1

COLLAR

stroke limit plain half

1шт.

6

361010R1

COLLAR

stroke limit flanged half

1шт.

7

361009R1

PLATE

limit stop valve retainer

1шт.

179792

BOLT,Hex, 1/4" - 20 x 9/16"

SCREW, 1/4-20 x 9/16 hex-hd cap

2шт.

8

361007R11

RETAINER

ASSY, limit stop valve

1шт.

9

21590R1

O-RING,0.07" Thk x 0.176" ID, -8, Cl 6, 90 Duro

3/16 x 5/16 class 6

1шт.

10

350429R1

O-RING,0.103" Thk x 0.612" ID, -114, Cl 5, 75 Duro

5/8 x 13/16 x 3/32

1шт.

11

361006R11

VALVE

ASSY, limit stop

1шт.

12

361004R1

BOLT,Hex, 1/2" - 20 x 13 7/16"

cylinder tire, replaces tie rod 60783C1

4шт.

25-118

NUT,1/2"-20, G5

1/2-20 hex

4шт.

13

354049R1

RETAINER

piston rod dust seal

1шт.

14

354048R1

WASHER,1.06" ID x 1.5" OD x 0.25" Thk

SEAL, piston rod dust

1шт.

15

383669R1

BACK-UP RING

rod seal back-up

1шт.

16

354047R1

O-RING,0.21" Thk x 1.15" ID, Cl 6

piston rod gland

1шт.

17

60786C91

HEAD

ASSY, cylinder front

1шт.

444687

PLUG,Hex Soc, 1/8"-27

Auto, Pipe Hex Soc, 1/8"-27

1шт.

18

343940R1

O-RING,3.234" ID x 0.139" Width

3-1/4 x 3-1/2 x 1/8

2шт.

19

361003R1

HEAD

piston

1шт.

20

9412368

NUT

3/4-16 hex piston rod lock

1шт.

21

375936R1

BACK-UP RING

WASHER, piston head black-up

2шт.

22

378827R1

O-RING,0.21" Thk x 3.1" ID, -338, Cl 6, 90 Duro

3-1/8 x 3-1/2 x 3/16

1шт.

23

377952R1

O-RING,0.103" Thk x 0.549" ID, -113, Cl 6, 90 Duro

9/16 x 3/4 x 3/32

2шт.

24

371211R2

TUBE,0.573" ID, 0.748" OD, 10.963" Length

cylinder return

1шт.

25

103321

LOCK WASHER,3/8"

WASHER, LOCK, 3/8"

1шт.

26

354051R1

BARREL,3.5035" ID, .429" OD, 10.26" Length

TUBE, cylinder

1шт.

27

60782C1

HEAD

cylinder rear

1шт.

28

371218R2

BACK-UP RING,0.594" ID x 0.36" Width

o-ring back-up

2шт.

29

375426R91

COLLAR

ASSY, stroke limit

1шт.

393503R1

THUMB SCREW,5/16" - 24 x 5/8"

thumb

1шт.

30

404015R1

BACK-UP RING

WASHER, back-up

2шт.

363138R94

PACKAGE

KIT, hyd cyl seal and ring service, consists of nos 9, 10, 13 thru 16, 18, 21 thru 23, 28, 30

1шт.

Выбрано товаров: 36