Запчасти Case IH 555 (A-03) - SLOW MOVING VEHICLE EMBLEM

Схема запчастей Case IH 555 - (A-03) - SLOW MOVING VEHICLE EMBLEM
FIT
1:1
100%

Артикул

Название

Примечание

Количество

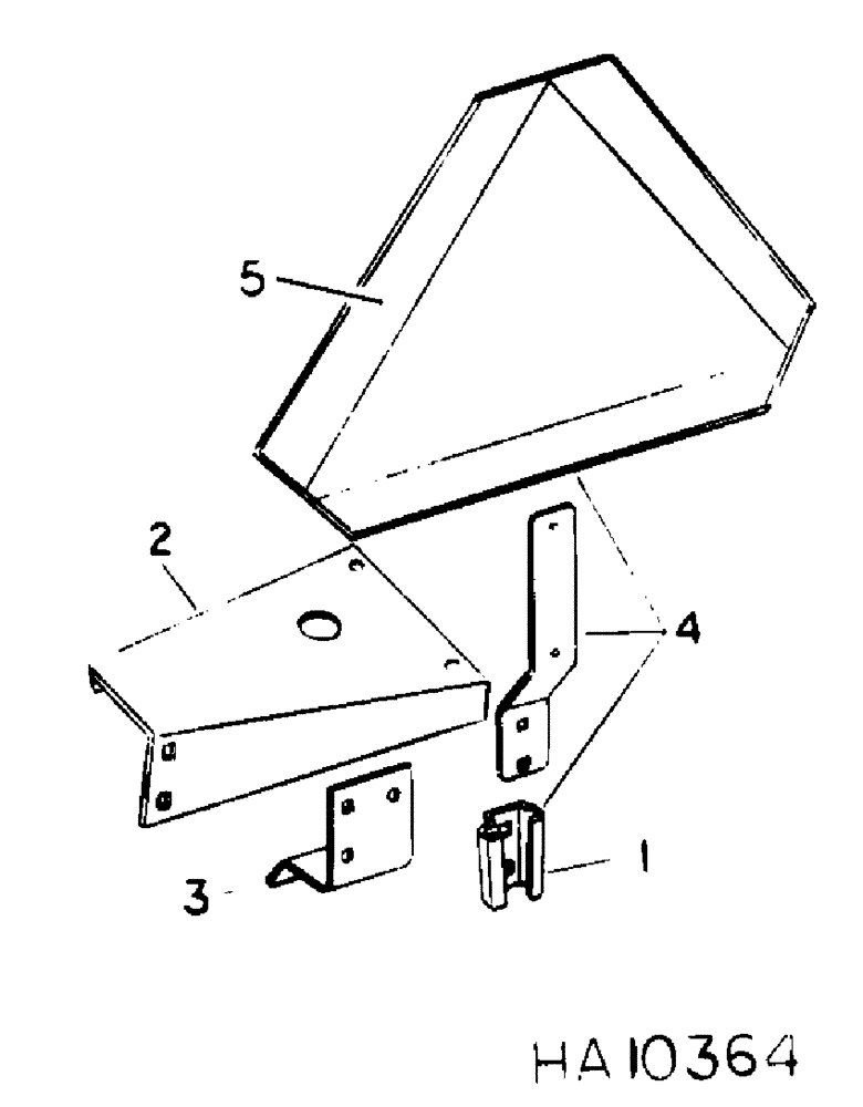
1

398976R1

BRACKET

SMV mounting

1шт.

598802R1

CARRIAGE BOLT,Short NK, 5/16"-18 x 3/4", G5, Full Thd

BOLT, 5/16 -18 x 3/4 crg

2шт.

120376

NUT,5/16"-18, G5

2шт.

80681

LOCK WASHER,5/16"

WASHER, LOCK, 5/16"

2шт.

619855R1

WASHER

.344 x .750 x .054

2шт.

2

820596C1

SUPPORT

SMV bracket, 530, 540, 550 and 555 models

1шт.

3

821587C1

SUPPORT

SMV bracket, 560 model

1шт.

113-206

BOLT,Hex, 3/8" - 16 x 3/4", Gr 5, Full Thd

3/8-16 x 3/4 hex hd

2шт.

120382

LOCK WASHER,Helical Spring, 3/8"

WASHER, LOCK, 3/8"

2шт.

120377

NUT,3/8" - 16, Gr 5

2шт.

4

407220R1

PRODUCT GRAPHIC

PACKAGE, S.M.V. emblem, steel, includes 1-398976R1, bracket

1шт.

5

407263R1

PRODUCT GRAPHIC,SMV Triangle Yellow Orange

PACKAGE, slow moving vehicle emblem, film kit

1шт.

Выбрано товаров: 12