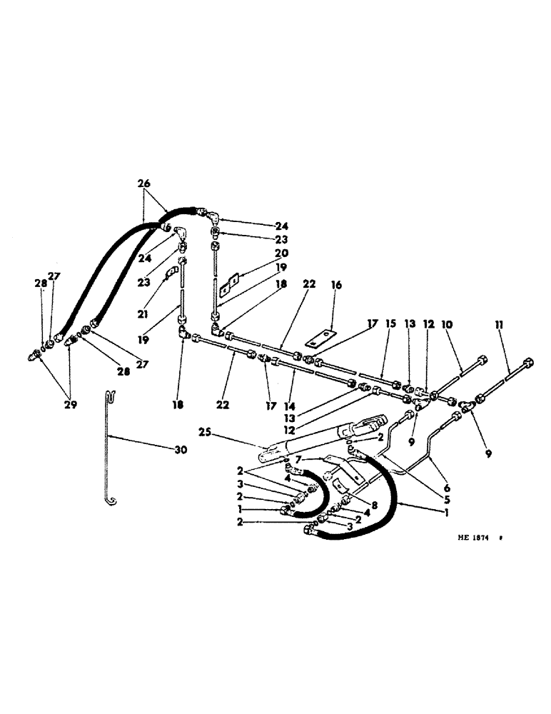
Запчасти Case IH 580 (B-58) - HYDRAULIC END GATE, HYDRAULIC LINES, PRIOR TO 1976 SEASON Invalid section

Схема запчастей Case IH 580 - (B-58) - HYDRAULIC END GATE, HYDRAULIC LINES, PRIOR TO 1976 SEASON Invalid section
FIT
1:1
100%

Артикул

Название

Примечание

Количество

1

371800R91

HOSE

27 in hyd cylinder, for use on machines equipped with 381833R93, hydraulic cylinder

1шт.

2

352221R1

O-RING,0.103" Thk x 0.549" ID, -113, Cl 5, 75 Duro

12шт.

3

584802R1

CONNECTOR, ELEC

UNION, hyd hose adaptor, for use on machines equipped with 381833R93, hydraulic cylinder

4шт.

4

481352R1

HYD CONNECTOR,3/4"-16, 37 Degree x 7/8"-14, O-Ring

REDUCER, 7/8-14 str thread to 3/4-16 hyd 37 deg flared tube, for use on machine equipped with 381833R93, hydraulic cylinder

4шт.

5

820983C1

TUBE,1" OD, 50.3, 4" Length

hydraulic rear LH raise

1шт.

6

820989C1

TUBE,1" OD, 47.3, 4" Length

hydraulic rear LH lower

1шт.

7

820035C1

SUPPORT

left & right hyd tube

2шт.

19020R1

PLOW BOLT,#3, 3/8" - 16 x 1 1/4", Gr 2

BOLT, 3/8-16 x 1-1/4 no. 3 plow

2шт.

120377

NUT,3/8" - 16, Gr 5

2шт.

120382

LOCK WASHER,Helical Spring, 3/8"

WASHER, LOCK, 3/8"

2шт.

8

820036C1

SUPPORT

dual tube clamp

3шт.

180126

BOLT,Hex, 3/8" - 16 x 1 1/2", Gr 5

3/8-16 x 1-1/2 hex-hd

3шт.

120377

NUT,3/8" - 16, Gr 5

3шт.

120382

LOCK WASHER,Helical Spring, 3/8"

WASHER, LOCK, 3/8"

3шт.

9

9402982

TEE,3/4"-16, 37 Degree

1/2 to 3/4 37 deg flared tube

2шт.

10

635802R11

TUBE,16.7" Length

hydraulic rear RH raise

1шт.

11

820985C1

TUBE,0.5" OD, 18.5" Length

hydraulic rear RH lower

1шт.

12

677487R11

TUBE,1" OD, 15.5" Length

hyd rear extension, 580 only

2шт.

13

9402787

UNION,3/4"-16, 37 Degree x 3/4"-16, 37 Degree

3/4-16 hyd 37 deg flared, 580 only

2шт.

14

820987C1

TUBE

hydraulic rear centre raise

1шт.

15

820988C1

TUBE

hydraulic rear centre lower

1шт.

16

820037C1

BAR, rear centre tube support

1шт.

180175

BOLT,Hex, 1/2" - 13 x 1 1/4", Gr 5

1/2-13 x 1-1/4 hex hd

1шт.

120378

NUT,Hex, 1/2" - 13, Gr 5

NUT, 1/2"-13, G5

1шт.

120384

WASHER,1/2"

LOCK, 1/2"

1шт.

17

9402787

UNION,3/4"-16, 37 Degree x 3/4"-16, 37 Degree

3/4-16 hyd 37 deg flared

2шт.

18

9402943

ELBOW,90 Degree, 3/4"-16, 37 Degree x 3/4"-16, 37 Degree

3/4-16 hyd 37 deg flared tube 90 deg

2шт.

19

637301R11

PIPE,0.5" OD, 29.7" Length

TUBE, hydraulic front upper

2шт.

20

820038C1

SUPPORT

front upper tube

1шт.

495967R1

CARRIAGE BOLT,Short NK, 3/8"-16 x 1", G5, Full Thd

BOLT, 3/8-16 x 1 crg

1шт.

120377

NUT,3/8" - 16, Gr 5

1шт.

120382

LOCK WASHER,Helical Spring, 3/8"

WASHER, LOCK, 3/8"

1шт.

21

820036C1

SUPPORT

dual tube clamp

1шт.

634979R1

CARRIAGE BOLT,Sht Sq Nk, 3/8" - 16 x 1 1/2"

BOLT, 3/8-16 x 1-1/2 crg

1шт.

120377

NUT,3/8" - 16, Gr 5

1шт.

120382

LOCK WASHER,Helical Spring, 3/8"

WASHER, LOCK, 3/8"

1шт.

22

820987C1

TUBE

hydraulic front centre

2шт.

23

561989R1

CONNECTOR, ELEC

ADAPTOR, 3/4-16 hyd 37deg flared tube to 3-4/16 str thread

2шт.

24

9402866

ELBOW,90 Degree, 7/8"-14, 37 Degree x 1/2"-14, NPTF

7/8-14 hyd 37 deg flared tube to 3/4-16 str thread 90 deg

2шт.

25

381833R93

CYLINDER ASSY.

CYLINDER ASSY, lift arm hydraulic, for component parts refer to end gate hydraulic cylinder

2шт.

26

560193R92

HOSE

85 in tractor to spreader, recommended hydraulic parts

2шт.

27

9410204

HYD CONNECTOR,7/8"-14, 37 Degree x 7/8"-14, O-Ring

CONNECTOR, 7/8-14 hyd short swivel, recommended hydrauilc parts

2шт.

28

364885R1

O-RING,0.097" Thk x 0.755" ID, -910, Cl 6, 90 Duro

connector, recommended hydraulic parts

2шт.

29

395149R1

QUICK MALE COUPLING

COUPLER, hose male, not for 66 series tractor

2шт.

29

544787R91

COUPLING, BREAK AWAY

COUPLER, hose male, for 66 series tractor, recommended hydraulic parts

2шт.

30

651793R2

SUPPORT

flexible hose

1шт.

550796R1

CARRIAGE BOLT,3/8" - 16 x 1 1/4", Grade 5

BOLT, 3/8-16 x 1-1/4 crg

1шт.

120377

NUT,3/8" - 16, Gr 5

1шт.

120382

LOCK WASHER,Helical Spring, 3/8"

WASHER, LOCK, 3/8"

1шт.

477589R1

WASHER

.406 x 1.500 x .105

1шт.

Выбрано товаров: 50