Запчасти Case IH 410 (02-01) - RADIATOR - COOLANT RECOVERY SYSTEM (02) - ENGINE

Схема запчастей Case IH 410 - (02-01) - RADIATOR - COOLANT RECOVERY SYSTEM (02) - ENGINE
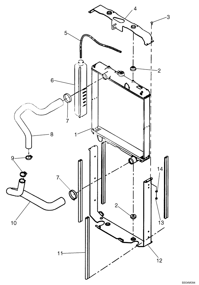
13
4
11
2
3
14
9
7
1
10
8
6
12
7
2
5
FIT
1:1
100%

Артикул

Название

Примечание

Количество

1

87013856

RADIATOR

Incl. 1A, 1B

1шт.

1a

87032485

DRAINCOCK/TAP SUPPLY

Drain

1шт.

1b

87032486

RADIATOR CAP

1шт.

2

87017045

CUSHION

4шт.

3

280638

CARRIAGE BOLT,Short NK, 1/4"-20 x 3/4", G5, Full Thd

4шт.

4

87459340

FRAME

Upper Radiator; Component Parts Not Serviced Separately

1шт.

5

87047483

HOSE,7.9mm ID x 550mm L

Coolant Recovery

1шт.

6

87020980

BOTTLE,2L

Incl. Cap 257884A1

1шт.

257884A1

CAP

1шт.

7

86050202

HOSE CLAMP,1.59” - 2.5”, Worm Gear

2шт.

8

87047295

RADIATOR HOSE,34.00 mm ID, 45.00 mm ID, 319.00 mm, SAE 20R4 CLASS D1 or D2

Upper

1шт.

9

513309

HOSE CLAMP,1-1/16” - 2”, Worm Gear

2шт.

10

87047294

RADIATOR HOSE,34.00 mm ID, 45.00 mm ID, 365.00 mm, SAE 20R4 CLASS D1 or D2

Lower

1шт.

11

87033635

SEAL

4шт.

12

87050449

FRAME ASSY

Lower Radiator

1шт.

12

87393454

FRAME

Lower Radiator; Replaces 87050449

1шт.

13

7770

NUT,Hex, 1/4 - 20, Cl 5

4шт.

14

322357

BELLEVILLE WASHER,M6 Bolt Size x 14mm OD x 1.3mm Thk

4шт.

Выбрано товаров: 18