Запчасти Case IH 410 (08-26) - CONTROL VALVE - SPOOL END GROUP (Nov 3 2009 7:47:00.4217 AM) (08) - HYDRAULICS

Схема запчастей Case IH 410 - (08-26) - CONTROL VALVE - SPOOL END GROUP (Nov 3 2009 7:47:00.4217 AM) (08) - HYDRAULICS
8
8
7
3
1
4
4
1
7
6
2
4
5
3
5
6
2
1
FIT
1:1
100%

Артикул

Название

Примечание

Количество

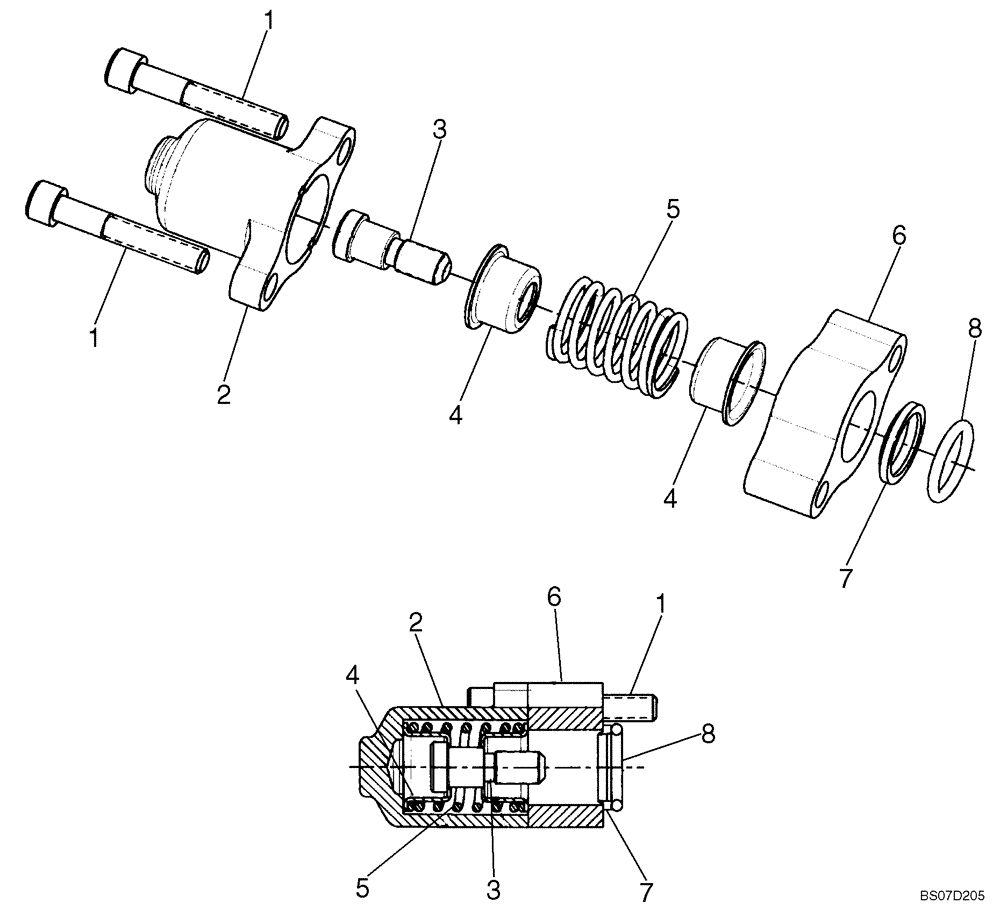
87583285

VALVE

Manual Control Valve; Incl. Figure 08-21 - 08-31

1шт.

87576168

SPOOL

Spool End Group; Incl. 1 - 8

1шт.

1

NSS

NOT SOLD SEPARAT

Cap Screw

2шт.

2

NSS

NOT SOLD SEPARAT

Spool Cap

1шт.

3

NSS

NOT SOLD SEPARAT

Spool End

1шт.

4

NSS

NOT SOLD SEPARAT

Spring Seat

2шт.

5

NSS

NOT SOLD SEPARAT

Spring

1шт.

6

NSS

NOT SOLD SEPARAT

Plate - Seal

1шт.

7

NSS

NOT SOLD SEPARAT

Wiper

1шт.

8

NSS

NOT SOLD SEPARAT

O-Ring

1шт.

Выбрано товаров: 10