Запчасти Case IH 410 (09-16) - HOOD (09) - CHASSIS

Схема запчастей Case IH 410 - (09-16) - HOOD (09) - CHASSIS
3
7
14
13
6
15
6
12
2
10
4
8
11
7
5
1
FIT
1:1
100%

Артикул

Название

Примечание

Количество

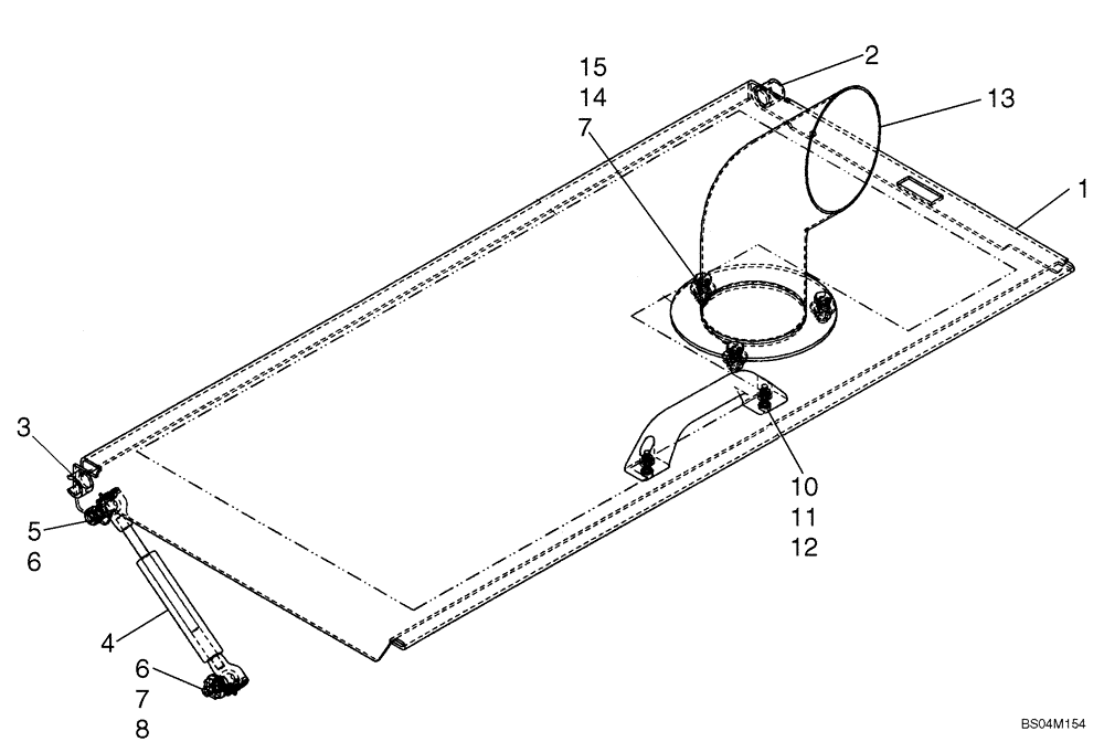
1

87458145

HOOD

Rear Hood; No Longer Available Order 87462015

1шт.

1

87462015

HOOD

Rear Hood; Replaces 87458145

1шт.

2

435396A1

SPACER

M10 x 24.5 x 3, HT

1шт.

3

87429698

SPACER

Hood

1шт.

4

400473A1

CYLINDER ASSY.,186.84mm L, Extended, 148.74mm L, Compressed

Hood Assist

1шт.

5

412250

NUT,M8 x 1.25, Cl 8

1шт.

6

189609A1

BALL STUD,M8 x 1.25

M8 x 1.25

2шт.

7

87015284

WASHER,8.8mm ID x 21.5mm OD x 2.5mm Thk

M8 x 21.5 x 2.5, HT

4шт.

8

229197A1

SQUARE NUT,M8 x 1.25, Cl 8

M8

1шт.

9

406256A1

HANDLE

Rear Hood

1шт.

10

86511827

SCREW,Phillips Drive, Pan HD, M5 x 20mm, Cl 4.8

2шт.

11

86625264

LOCK WASHER,Ext Tooth, M5

2шт.

12

86639241

NUT,Prev Torque, M5 x 0.8, Cl 8

M5 x .8, Cl 8

2шт.

13

304811A1

EXTENSION,88.9 mm ID, 139.7 mm OD, 287.2 mm Length

Exhaust Extension

1шт.

13

87381264

TUBE,88.9 mm OD x 268, 63.5 mm L

Exhaust Extension; 268 mm (10.55 in) Tall; Replaces 304811A1; If Used

1шт.

13

87725355

EXHAUST SYSTEM PIPE

Exhaust Extension; 243 mm (9.57 in) Tall; If Used

1шт.

14

120104

BOLT,Hex, M8 x 1.25 x 20mm, Cl 8.8

3шт.

15

9628098

NUT,M8 x 1.25, Cl 10

3шт.

Выбрано товаров: 18