Запчасти Case IH 410 (09-21A) - NOISE KIT, IF USED (09) - CHASSIS

Схема запчастей Case IH 410 - (09-21A) - NOISE KIT, IF USED (09) - CHASSIS
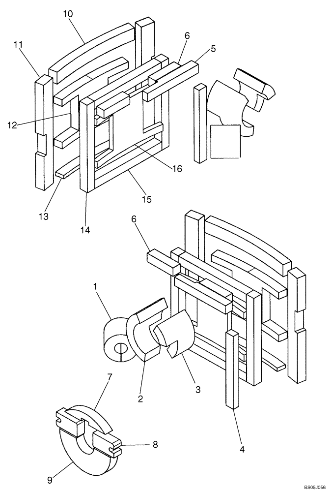
1
12
15
8
13
11
5
16
6
2
10
7
6
3
14
9
4
FIT
1:1
100%

Артикул

Название

Примечание

Количество

87353738

KIT

European Noise Kit; Incl. 87353743, 87353745, 87354151, 87361614

1шт.

87353743

KIT

Kit, European Cooling Pads; Incl. 1 - 6

1шт.

1

87352893

PAD

Hose; If Used

1шт.

2

87353019

PAD

Air Cleaner; If Used

1шт.

3

87353010

PAD

Air Cleaner; If Used

1шт.

4

87460191

PAD

Fan Shroud

1шт.

5

87352873

PAD

Fan Shroud

1шт.

6

87352891

PAD

Cooler

2шт.

87353745

KIT

Kit, European Engine Pads; Incl. 7 - 9

1шт.

7

87460186

PAD

Engine

1шт.

8

87460202

PAD

2шт.

9

87353025

PAD

Engine

1шт.

87354151

KIT

Kit, European Rear Door Pads; Incl. 10 - 13

1шт.

10

87460196

PAD

Rear Door

1шт.

11

87460195

PAD

Rear Door

2шт.

12

87338777

PAD

Center

1шт.

13

87460199

PAD

Rear Door

1шт.

87361614

Kit, Non High Flow; Incl. 14 - 16

1шт.

14

87338778

PAD

Door; Vertical

2шт.

15

87338779

PAD

Door; Horizontal

2шт.

16

87361488

PAD

Center

1шт.

Выбрано товаров: 21