Запчасти Case IH 410 (09-25B) - CAB DOOR 87462481 - WIPER (09) - CHASSIS

Схема запчастей Case IH 410 - (09-25B) - CAB DOOR 87462481 - WIPER (09) - CHASSIS
3
13
24
7
5
32
22
30
14
2
28
36
29
12
25
1
21
27
34
20
35
19
9
11
28
9
18
8
33
11
31
23
8
17
21
4
28
16
6
10
15
9
26
FIT
1:1
100%

Артикул

Название

Примечание

Количество

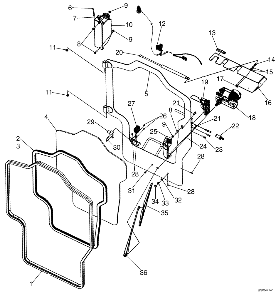
87462481

DOOR ASSY.

Incl. 1 - 36

1шт.

1

87459550

DOOR SEAL,3327.4mm L

Bulb, Clip On

1шт.

2

87459549

RUBBER STRIP,2489.2mm L

Rubber

1шт.

3

87459548

STRIP

Rubber

1шт.

4

87461189

GLASS

Glass Front Door

1шт.

4

87638975

DOOR PANEL

Polycarbonate Front Door

1шт.

5

87459541

DOOR ASSY.

1шт.

6

87535450

FITTING

Double Barb; Replaces 87461214

1шт.

7

87462049

HOSE

.188 Dia., 28 in Length

1шт.

8

86511832

SCREW,Phillips Drive, Pan HD, M6 x 30mm, Cl 4.8

Cross Pan Hd, M6 x 30

3шт.

9

9804276

FLANGE NUT,Hex, M6 x 1, Cl 8

3шт.

10

87458048

WINDSHIELD WASHER

Incl. Cap 257884A1, Bottle 87458049, Pump 87458050, And Grommet 87458051

1шт.

257884A1

CAP

1шт.

87458049

BOTTLE

1шт.

87458050

PUMP

1шт.

87458051

GROMMET

1шт.

11

87461211

BUSHING

2шт.

12

87460752

WIRE HARNESS

1шт.

13

87461244

DECAL

Windshield Wiper

1шт.

14

189609A1

BALL STUD,M8 x 1.25

1шт.

15

140016

WASHER,M8 x 16mm OD x 1.6mm Thk

2шт.

16

87459545

DOOR COVER

1шт.

17

9804277

FLANGE NUT,Hex, M8 x 1.25, Cl 8

1шт.

18

87461194

WIPER MOTOR

MOTOR, WIPER

1шт.

18

87461194R

410 SKID STEER, NA BSN N7M480924, MOTOR WIPER (2/05-)

REMAN-WIPER MOTOR

1шт.

18

87461194C

Return Number

CORE-WIPER MOTOR

1шт.

19

87458047

LATCH

1шт.

20

395264A2

GAS STRUT

1шт.

21

86511830

SCREW,Phillips Drive, Pan HD, M6 x 20mm, Cl 4.8

Cross Pan Hd, M6 x 20

1шт.

22

87462415

STOP

Striker Bolt

1шт.

23

86511831

SCREW,Phillips Drive, Pan HD, M6 x 25mm

4шт.

24

87461187

CAP

2шт.

25

87458046

LOCKING HANDLE

1шт.

87462504

DOOR LOCK KEY

1шт.

26

193-1003

NUT,Keps, w/LW,#6-32

Nylon Locking

2шт.

27

87458055

SWITCH

Windshield Wiper

1шт.

28

87462369

SCREW,Pan, #8 - 32 x 1/2"

8-32 x .500

4шт.

29

392269A2

SWITCH

Seat Bar

1шт.

30

H435814

U-BOLT

1шт.

31

87461216

GROMMET

1шт.

32

87035254

RETAINER

1шт.

33

490-1258

SCREW,Cross Pan Hd, 1/4"-28 x 1/2"

1шт.

34

87035253

COVER

1шт.

35

87461196

WIPER BLADE

BLADE, WIPER

1шт.

36

87461195

WIPER ARM

1шт.

Выбрано товаров: 45