Запчасти Case IH 410 (09-27) - REAR WINDOW (09) - CHASSIS

Схема запчастей Case IH 410 - (09-27) - REAR WINDOW (09) - CHASSIS
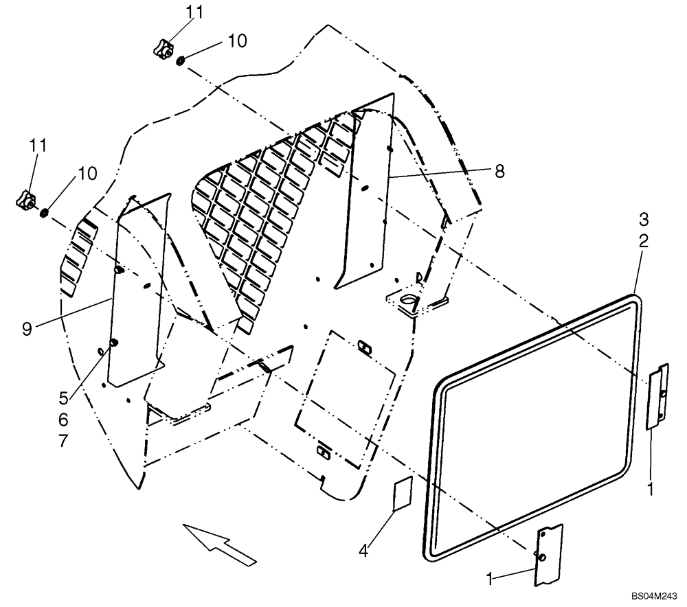
8
11
1
5
6
1
11
10
10
7
4
9
3
2
FIT
1:1
100%

Артикул

Название

Примечание

Количество

1

374730A2

BRACKET

2шт.

2

374731A2

SEAL,2060mm L

1шт.

3

374729A3

WINDOW

1шт.

4

329051A1

DECAL

Emergency Exit

1шт.

5

120103

BOLT,M8 x 1.25 x 16mm, Cl 8.8

4шт.

6

140016

WASHER,M8 x 16mm OD x 1.6mm Thk

4шт.

7

86505868

SERRATED NUT,Hex, M8 x 1.25, Cl 8

4шт.

8

87029977

SUPPORT

Right Hand Window

1шт.

8

87461430

SUPPORT

Right Hand Window; Replaces 87029977

1шт.

9

87029976

SUPPORT

Left Hand Window

1шт.

9

87461429

SUPPORT

Left Hand Window; Replaces 87029976

1шт.

10

140017

WASHER,M10 x 20mm OD x 2mm Thk

2шт.

11

369728A1

KNOB

2шт.

Выбрано товаров: 13