Запчасти Case IH 410 (04-19) - ROAD LIGHTS AND MOUNTING - EUROPE (04) - ELECTRICAL SYSTEMS

Схема запчастей Case IH 410 - (04-19) - ROAD LIGHTS AND MOUNTING - EUROPE (04) - ELECTRICAL SYSTEMS
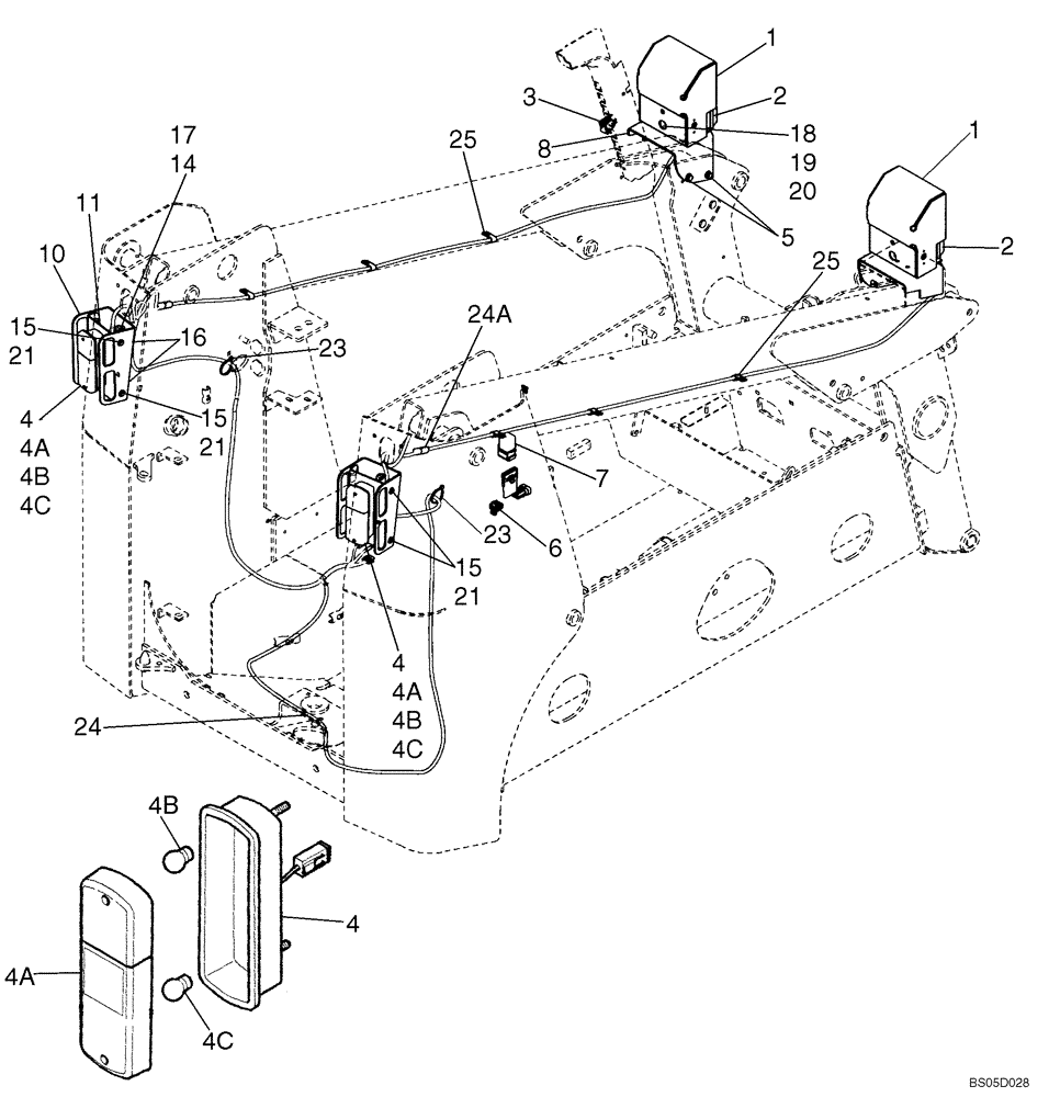
4c
18
20
17
6
4a
4a
1
4b
16
23
24a
14
11
25
21
4b
19
4
2
4b
21
25
10
15
24
4c
5
4c
2
1
3
7
15
4
8
21
4
4a
23
15
FIT
1:1
100%

Артикул

Название

Примечание

Количество

87446193

DIA KIT, ADD PROD

Turn Signal/Flasher/Headlamps Kit; Incl 1 - 25

1шт.

1

87038383

SUPPORT

2шт.

2

86508184

HEADLAMP,12V

2шт.

3

122736A1

FLASHER SWITCH

Rocker; Hazard Lights

1шт.

4

177239A2

LAMP, TAIL

LIGHT, TAIL Rear Combination; Incl. 4A - 4C

2шт.

4a

187140A1

LENS

1шт.

4b

3131227R1

BULB,P25-1, 12V, 21W

Turn Signal

1шт.

4c

3131234R1

BULB,P25-2, 12V, 5W

Stop/Tail

1шт.

5

280476

SELF-TAP SCREW,HWH, 3/8"-16 x 1"

Replaces 281-54914 (Hex Washer Head, 3/8 x 7/8)

4шт.

6

377811A1

HARNESS

Flasher

1шт.

7

379112A1

FLASHER UNIT

Hazard and Turn Signal

1шт.

8

87454244

BRACKET

Headlamp; Left

1шт.

9

87454245

BRACKET

Headlamp; Right

1шт.

10

419431A1

BRACKET

Rear Turn Signal

2шт.

11

427180A1

BRACKET

Rear Lamp

2шт.

12

87445231

HARNESS

Turn Signal; If Used; See Ref 24

1шт.

14

87016870

CLAMP,9.5mm, Coat, 8.7mm Bolt Hole, J Type

J, 9.5 mm, M8 Bolt

2шт.

15

86508568

BOLT,Hex, M6 x 1 x 16mm, Cl 8.8

8шт.

16

811-10025

CARRIAGE BOLT,Sht Sq Nk, M10 x 1.5 x 25mm, Cl 8.8

4шт.

17

86511444

FLANGE NUT,Hex, M6 x 1

4шт.

18

11106231

BOLT,Hex, M10 x 1.5 x 25mm, Cl 10.9

4шт.

19

832-41310

NUT,M10 x 1.5, Cl 10

8шт.

20

86624176

WASHER,11mm ID x 20mm OD x 2mm Thk

4шт.

21

86624182

WASHER,6.6mm ID x 18mm OD x 1.6mm Thk

8шт.

22

A149800

FUSE,10 Amp

10 Amp, Red; Not Illustrated

1шт.

23

L18331

CABLE TIE,375.9mm L, Nylon, Black

CABLE STRAP

4шт.

24

87460868

HARNESS

Turn Signal; Replaces Ref 12; Used With Ref 24A

1шт.

24a

87460869

HARNESS

Turn Signal; Used With Ref 24

2шт.

25

86010402

CLAMP,12.7mm, Coat, 10.3mm Bolt Hole, P Type

.50 x .38 Bolt; If Used

6шт.

25

L18331

CABLE TIE,375.9mm L, Nylon, Black

CABLE STRAP Not Illustrated

4шт.

Выбрано товаров: 30