Запчасти Case IH 410 (09-64) - LIFT HOOK- FRONT (09) - CHASSIS

Схема запчастей Case IH 410 - (09-64) - LIFT HOOK- FRONT (09) - CHASSIS
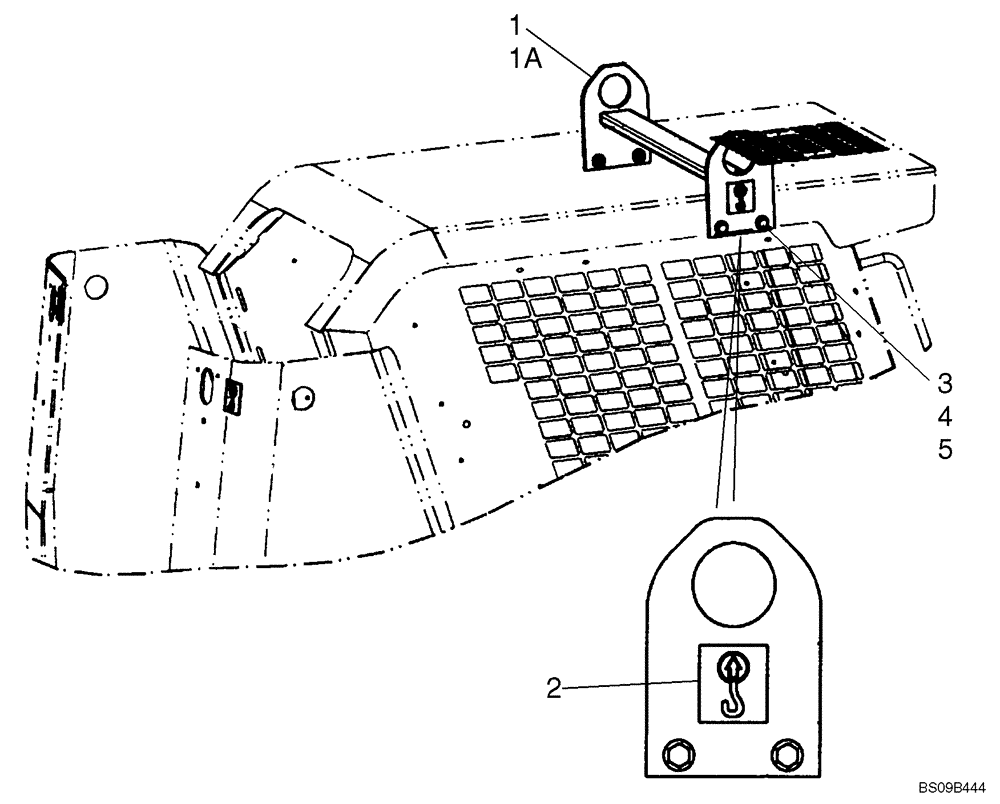
3
4
1a
2
5
1
FIT
1:1
100%

Артикул

Название

Примечание

Количество

87638451

SERVICE KIT

Kit, Lift Hook - Front; Incl 1 - 5

1шт.

1

87684094

BRACKET

Lift Hook; If Used

1шт.

2

139729A1

DECAL

4шт.

1a

84167894

PLATE

Plate Lift Hooks, Gray; Used Without Crossbar

2шт.

3

337563

BOLT,M12 x 1.75 x 47.68mm, Cl 10.9

4шт.

4

86625256

WASHER,13.3mm ID x 28.5mm OD x 4mm Thk

8шт.

5

412672

NUT,Hex, M12 x 1.75, Cl 10

4шт.

Выбрано товаров: 7