Запчасти Case IH 420 (09-22) - NOISE KIT - EUROPE (09) - CHASSIS

Схема запчастей Case IH 420 - (09-22) - NOISE KIT - EUROPE (09) - CHASSIS
9
2
5
1
1
4
6
7
8
3
FIT
1:1
100%

Артикул

Название

Примечание

Количество

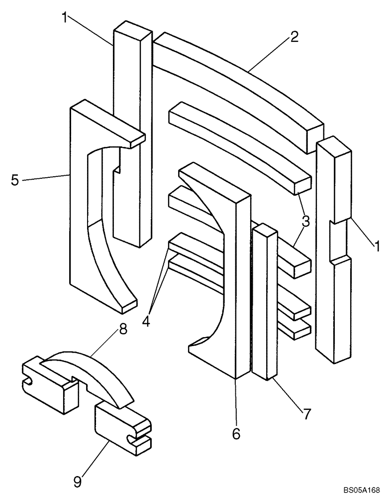
1

87460195

PAD

Rear Door

2шт.

2

87460196

PAD

Rear Door

1шт.

3

87460198

PAD

Rear Door

2шт.

4

87460199

PAD

Rear Door

2шт.

5

87460204

PAD

Fan Shroud; If Used

1шт.

6

87460203

PAD

Fan Shroud; If Used

1шт.

7

87460191

PAD

Fan Shroud

1шт.

8

87460186

PAD

Engine

1шт.

9

87460202

PAD

2шт.

Выбрано товаров: 9