Запчасти Case IH 420 (09-37) - HEATER ASSY (09) - CHASSIS

Схема запчастей Case IH 420 - (09-37) - HEATER ASSY (09) - CHASSIS
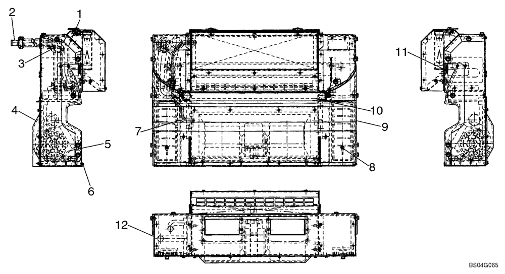
6
11
7
5
3
1
2
12
10
10
4
8
FIT
1:1
100%

Артикул

Название

Примечание

Количество

87029159

HEATER ASSY.

Incl. 1 - 12

1шт.

1

290502

PIN

Heater Hose; 5/8 x 30" Long

2шт.

2

87035457

TUBE,0.625" DIA x 1.585" L

5/8

2шт.

3

87029691

ELEMENT

Paper Filter

1шт.

3

87681240

CAB FILTER,367mm L x 108mm W x 24mm Thk, Charcoal

Charcoal Filter

1шт.

4

87029688

COVER

1шт.

5

87029689

BLOWER ASSY.

1шт.

5

87383273R

420 SKID STEER - 420NA BSN N7M466710 (2/05-), 420CT COMPACT TRACK LOADER - BSN N7M455401 (3/06-12/07), Both ASSY, Reman for New PN 87029689

REMAN-BLOWER

1шт.

5

87383273C

Return Number

CORE-BLOWER

1шт.

6

87029690

PANEL

1шт.

7

87035460

WIRE HARNESS

Heater

1шт.

8

87035459

VENT (AIR)

2шт.

9

87029693

COVER

1шт.

10

87029694

CORE

1шт.

11

87033934

AIR DUCT

Incl. 11A, 11B; If Used; Used With Case Ref 12, Part Number 87029687

1шт.

11

87591145

COVER ASSY

If Used; Used With Case Ref 12, Part Number 87383269, Air Filter Assy 87591144

1шт.

11a

87033906

GRILLE

1шт.

11b

87033905

COVER

1шт.

87591144

COVER ASSY

If Used; Used With Ref 11, Cover Assy 87591145, and Ref 12, Case 87383269; Component Parts Not Serviced Separately

1шт.

12

87029687

CASE

If Used; Use With Cover Assy Ref 11, Part Number 87033934

1шт.

12

87383269

CASE

If Used; Use With Cover Assy Ref 11, Part Number 87591145

1шт.

Выбрано товаров: 21