Запчасти Case IH 420 (03-02B) - CONTROLS - THROTTLE, LOAD MANAGEMENT SYSTEM (03) - FUEL SYSTEM

Схема запчастей Case IH 420 - (03-02B) - CONTROLS - THROTTLE, LOAD MANAGEMENT SYSTEM (03) - FUEL SYSTEM
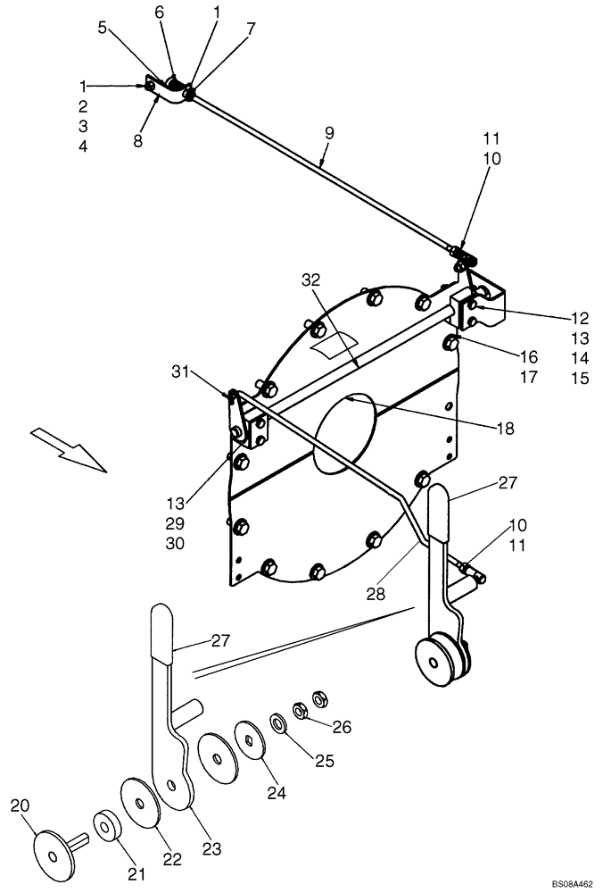
16
17
20
23
1
15
9
27
25
10
4
18
6
30
27
11
8
22
2
29
10
31
24
13
13
3
32
1
14
21
7
26
5
28
12
11
FIT
1:1
100%

Артикул

Название

Примечание

Количество

1

80707

WASHER,0.25" ID x 0.56" OD x 0.05" Thk

2шт.

2

13734

SPACER,6.52mm ID x 9.52mm OD x 3.43mm W

1шт.

3

86511920

SCREW,Phillips Drive, Pan HD, #10 - 24 x 1/2"

1шт.

4

88826

LOCK NUT,#10-24, GA

1шт.

5

9860169

RIVET,10-32 Thread, 19.6mm Shoulder

1шт.

6

11104

SPRING

1шт.

7

87825

NUT,#10-32

1шт.

8

9844532

BRACKET

1шт.

9

87460722

ROD

Throttle Control Rod

1шт.

10

H169920

BALL JOINT

2шт.

11

86509309

NUT,1/4"-28, G5

3шт.

12

120056

BOLT,M6 x 1.0 x 54.15mm, Cl 8.8

2шт.

13

87030561

NUT,M6 x 1, Cl 8

4шт.

14

87645660

BRACKET

Throttle Positioning Sensor Mount

1шт.

15

87435739

BAR

Top Bar Clamp

2шт.

16

87016

WASHER,0.41" ID x 0.81" OD x 0.07" Thk

11шт.

17

88434

BOLT,Hex, 3/8" - 16 x 3/4", Gr 5

11шт.

18

87461758

COVER

Flywheel Cover

2шт.

20

291244A1

LEVER

Throttle Pivot

1шт.

21

257973A1

SEALING WASHER,12.5mm ID x 36mm OD x 10mm Thk

Rubber Washer

1шт.

22

1342374C1

DISC

Friction Disc

2шт.

23

87416538

LEVER ASSY.

Hand Throttle Lever

1шт.

24

257971A1

WASHER,13.1mm ID x 48mm OD x 3.05mm Thk

Slotted Washer

1шт.

25

86625255

WASHER,13.3mm ID x 24.5mm OD x 3mm Thk

1шт.

26

323238

THIN NUT,Hex, M12, 1.75mm Pitch, Cl 05

2шт.

27

D126613

HANDLE

Vinyl Grip

1шт.

28

87435736

ROD

Throttle Rod

1шт.

29

87435732

CLAMP

2шт.

30

86977790

BOLT,Hex, M6 x 45mm, Cl 8.8

2шт.

31

D131983

COTTER PIN,1.04mm OD x 21.4mm L, Ring

1шт.

32

87645662

CRANK

Crank, Load Management System

1шт.

Выбрано товаров: 31