Запчасти Case IH 420 (06-16) - MOTOR ASSY - REXROTH (06) - POWER TRAIN

Схема запчастей Case IH 420 - (06-16) - MOTOR ASSY - REXROTH (06) - POWER TRAIN
4
3
9
18
17
14
10
11
11
5
19
12
1
6
8
7
16
2
15
FIT
1:1
100%

Артикул

Название

Примечание

Количество

87035450

MOTOR,400CC

Rexroth; If Used; One Speed; Incl. 06-16 - 06-16B

2шт.

87035450R

420 SSL BSN N7M466710

REMAN-HYD MOTOR,470CC

2шт.

87035450C

Return Number

CORE-MOTOR HYDRAULIC

2шт.

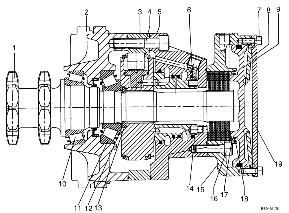
1

87039374

KIT

Shaft

1шт.

2

87045011

CASE

Front

1шт.

3

87045006

CAM

280/400

1шт.

4

87043997

SCREW

M12 x 55

6шт.

5

87045007

CASE

Rear

1шт.

6

87042912

SPRING

12шт.

7

86512134

HEX SOC SCREW,M6 x 16mm, Cl 12.9

12шт.

8

87042926

SPRING

1шт.

9

87043999

PISTON

Brake

1шт.

10

87043990

BALL BEARING,55mm ID x 90mm OD x 23mm W

55 x 90 x 25.25

1шт.

11

87043991

BALL BEARING,40mm ID x 90mm OD x 25.25mm W

40 x 90 x 25.25

1шт.

12

87043989

KIT

Washer

1шт.

13

87043992

RING

Split

1шт.

14

87042911

PIN

1шт.

15

87045010

HOUSING

1шт.

84565749R

420 NA BSN N7M466710, 420 EU BSN N8M466713 (2/05-), Reman for New P/N 87045010

REMAN-HYD MOTOR

1шт.

84565749C

Return Number

CORE-MOTOR HYDRAULIC

1шт.

16

86566100

HEX SOC SCREW,M10 x 35mm, Cl 12.9, Full Thd

8шт.

17

87042924

RING

1шт.

18

87042925

CLIP

87 ID

1шт.

19

87042923

COVER

End

1шт.

Выбрано товаров: 24