Запчасти Case IH 420 (08-14) - CYLINDER - LIFT (08) - HYDRAULICS

Схема запчастей Case IH 420 - (08-14) - CYLINDER - LIFT (08) - HYDRAULICS
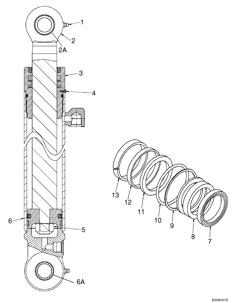
2
13
6a
2a
4
12
10
12
7
6
1
8
9
3
6
FIT
1:1
100%

Артикул

Название

Примечание

Количество

87705799

CYLINDER,Double Acting, 44.4mm Rod, 910mm Stroke

Lift Cylinder, 63.5mm (2 1/2 in.) Bore X 1128mm (44 3/8 in.) Stroke

1шт.

87705799R

REMAN-HYD CYLINDER

420 Tier 3, ASN N7M466710, 420CT Tier 3, ASN N7M455401

1шт.

87705799C

Return Number

CORE-HYD CYLINDER

1шт.

1

87414

LUBE NIPPLE,1/4" - 28

2шт.

2

87750127

PISTON ROD

Rod

1шт.

2a

D34359

BUSHING,25.63mm ID x 34.92mm OD x 15.75mm L

Bushing, 1.00 in. ID X 1 3/8 OD X 5/8 Wide

2шт.

3

87705819

SERVICE KIT

Piston Gland

1шт.

4

G109395

SELF-TAP SCREW,Hex, #8 - 32 x 3/8"

1шт.

5

280724

LOCK NUT,3/4" - 16

1шт.

6

87705801

BARREL,63.58 mm ID x 1070.2 mm L

Tube

1шт.

6a

G35361

BUSHING,25.7mm ID x 31.82mm OD x 15.7mm L

Bushing, 25.4mm ID X 31.80mm OD X 15.7mm Wide

2шт.

87705824

SEAL KIT

Seal Kit

1шт.

7

D95143

WIPER SEAL,44.42mm ID x 57.17mm OD x 7.92mm Thk

Wiper

1шт.

8

1542875C1

SEAL KIT,44.4mm Rod

Rod and Buffer Seals

1шт.

9

86512008

SEAL,60.89mm ID x 66.88mm OD x 1.27mm Thk

Back-Up Washer

1шт.

10

52419

O-RING,0.139" Thk x 2.359" ID, -229, Cl 5, 75 Duro

1шт.

11

G100713

SEALING RING,Square, 5.28mm Thk x 49.91mm ID

Loader Ring

1шт.

12

G100712

SEAL

Piston Seal

1шт.

13

G10714

Wear Ring

1шт.

Выбрано товаров: 19