Запчасти Case IH 420 (09-07) - BUCKETS - LOADER, LOW PROFILE, EXTENDED LOW PROFILE (09) - CHASSIS

Схема запчастей Case IH 420 - (09-07) - BUCKETS - LOADER, LOW PROFILE, EXTENDED LOW PROFILE (09) - CHASSIS
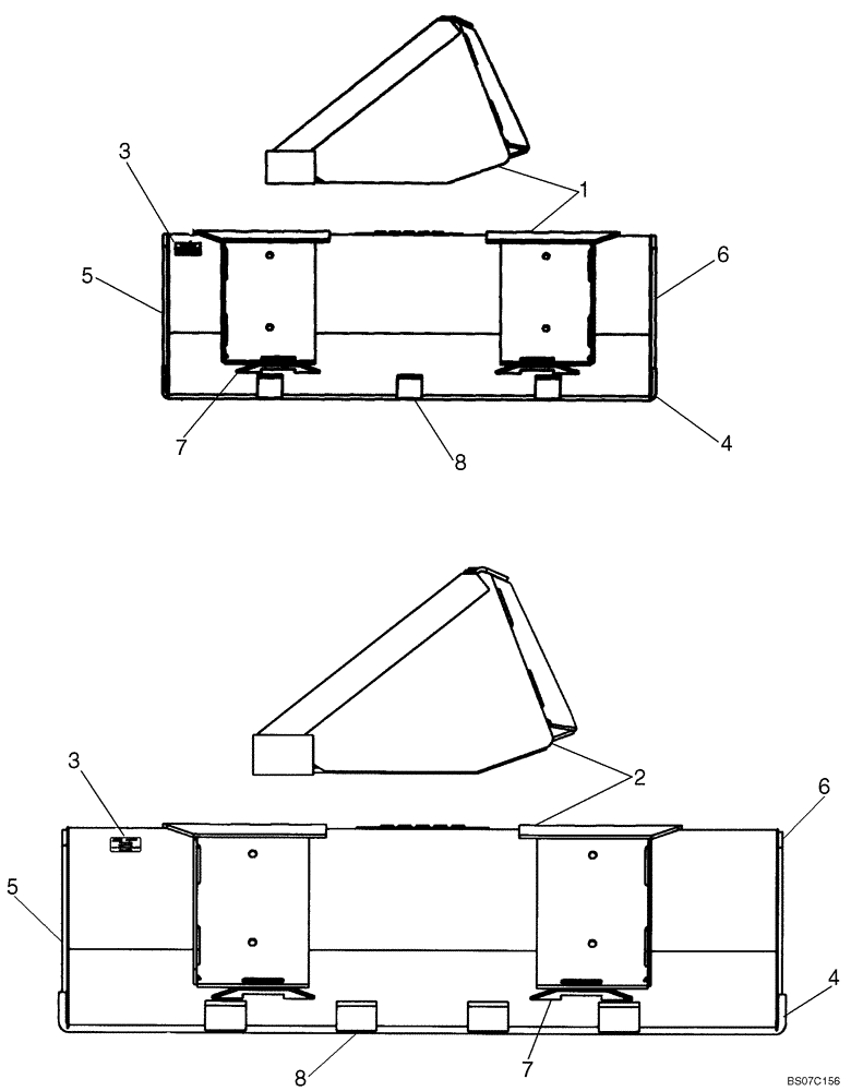
3
4
5
7
8
5
3
6
2
6
7
8
4
1
FIT
1:1
100%

Артикул

Название

Примечание

Количество

REF

INSTRUCTION

LOW PROFILE, EXTENDED LOW PROFILE

1шт.

1

87010190

BUCKET

Low Profile; 1524 mm (60 Inch); Order From Machinery Price List; Incl. 3 - 8

1шт.

3

NSS

NOT SOLD SEPARAT

Decal

1шт.

4

86577164

CUTTING EDGE

Weld On Blade

1шт.

5

9829784

CUTTING EDGE

Cutter Left Hand

1шт.

6

9829783

CUTTING EDGE

Cutter Right Hand

1шт.

7

9822175

PLATE

2шт.

8

86501840

BAR

Skid

3шт.

1

86618363

BUCKET

Low Profile; 1676 mm (66 Inch); Order From Machinery Price List; Incl. 3 - 8

1шт.

3

NSS

NOT SOLD SEPARAT

Decal

1шт.

4

86577166

CUTTING EDGE

Weld On Blade

1шт.

5

9829784

CUTTING EDGE

Cutter Left Hand

1шт.

6

9829783

CUTTING EDGE

Cutter Right Hand

1шт.

7

9822175

PLATE

2шт.

8

9829786

BAR

Skid

3шт.

1

86618364

BUCKET

Low Profile; 1820 mm (72 Inch); Order From Machinery Price List; Incl. 3 - 8

1шт.

3

NSS

NOT SOLD SEPARAT

Decal

1шт.

4

86577168

CUTTING EDGE,Weld On, 7 Hole, 152.4mm W x 1825.8mm L

Weld On Blade

1шт.

5

9829784

CUTTING EDGE

Cutter Left Hand

1шт.

6

9829783

CUTTING EDGE

Cutter Right Hand

1шт.

7

9822175

PLATE

2шт.

8

9829786

BAR

Skid

4шт.

2

86618353

BUCKET

Extended Low Profile; 1524 mm (60 Inch); Order From Machinery Price List; Incl. 3 - 8

1шт.

3

NSS

NOT SOLD SEPARAT

Decal

1шт.

4

86577164

CUTTING EDGE

Weld On Blade

1шт.

5

86510316

CUTTING EDGE

Cutter Left Hand

1шт.

6

86510315

CUTTING EDGE

Cutter Right Hand

1шт.

7

9822175

PLATE

2шт.

8

86510313

BAR

Skid

3шт.

2

86618354

BUCKET

Extended Low Profile; 1676 mm (66 Inch); Order From Machinery Price List; Incl. 3 - 8

1шт.

3

NSS

NOT SOLD SEPARAT

Decal

1шт.

4

86577166

CUTTING EDGE

Weld On Blade

1шт.

5

9829784

CUTTING EDGE

Cutter Left Hand

1шт.

6

9829783

CUTTING EDGE

Cutter Right Hand

1шт.

7

9822175

PLATE

2шт.

8

9829786

BAR

Skid

3шт.

2

86618355

BUCKET

1829 mm (72 Inch); Order From Machinery Price List; Incl. 3 - 8

1шт.

3

NSS

NOT SOLD SEPARAT

Decal

1шт.

4

86577168

CUTTING EDGE,Weld On, 7 Hole, 152.4mm W x 1825.8mm L

Weld On Blade

1шт.

5

86510316

CUTTING EDGE

Cutter Left Hand

1шт.

6

86510315

CUTTING EDGE

Cutter Right Hand

1шт.

7

9822175

PLATE

2шт.

8

86510314

BAR

Skid

3шт.

Выбрано товаров: 43