Запчасти Case IH 420 (09-11) - SPECIAL PARTS FOR ITALY - GUARD, BUCKET (09) - CHASSIS

Схема запчастей Case IH 420 - (09-11) - SPECIAL PARTS FOR ITALY - GUARD, BUCKET (09) - CHASSIS
5
2
3
5
1
2
4
1
FIT
1:1
100%

Артикул

Название

Примечание

Количество

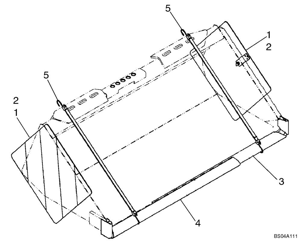
1

631816

THUMB SCREW,3/8" - 16 x 1"

2шт.

2

86530079

GUARD

Bucket

2шт.

3

86565640

GUARD

Right Hand

1шт.

4

86565641

GUARD

Left Hand

1шт.

5

434346A1

ELASTIC STRAP,35” L

2шт.

Выбрано товаров: 0