Запчасти Case IH 420 (09-62) - NOISE CONTROL (EUROPE) (09) - CHASSIS

Схема запчастей Case IH 420 - (09-62) - NOISE CONTROL (EUROPE) (09) - CHASSIS
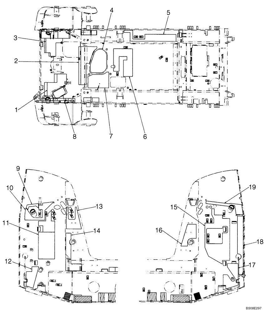
16
18
1
2
17
14
19
8
7
3
15
9
12
5
10
4
13
6
11
FIT
1:1
100%

Артикул

Название

Примечание

Количество

1

87584434

PAD

1шт.

2

87584431

PAD

1шт.

3

87702962

FOAM INSULATION

1шт.

4

87713118

FOAM INSULATION

1шт.

5

87702963

FOAM INSULATION

Pad, Left Chain Tank

1шт.

6

87713120

FOAM INSULATION

1шт.

7

87713119

FOAM INSULATION

1шт.

8

87584435

PAD

1шт.

9

87698867

FOAM INSULATION

Left Tower

1шт.

10

87702959

FOAM INSULATION

Left Tower; No Longer Used, Order 87720479

1шт.

10

87720479

FOAM INSULATION

Left Tower

1шт.

11

87702957

FOAM INSULATION

Left Tower

1шт.

12

87460167

PAD

Left Tower

1шт.

13

87703637

FOAM INSULATION

Left Tower

1шт.

14

87713117

FOAM INSULATION

Left Tower

1шт.

15

87702960

FOAM INSULATION

Right Tower

1шт.

16

87559703

PAD

Right Tower

1шт.

17

87713783

FOAM INSULATION

Right Tower

1шт.

18

87703676

FOAM INSULATION

Sound Pad, Right

1шт.

19

87720480

FOAM INSULATION

Sound Pad, Right Tower

1шт.

Выбрано товаров: 20