Запчасти Case IH 430 (04-30A) - SPECIAL PARTS FOR ITALY - BRAKE LIGHT HARNESS (04) - ELECTRICAL SYSTEMS

Схема запчастей Case IH 430 - (04-30A) - SPECIAL PARTS FOR ITALY - BRAKE LIGHT HARNESS (04) - ELECTRICAL SYSTEMS
1
9
7
8
1
1
6
2
5
2
2
1
4
3
2
FIT
1:1
100%

Артикул

Название

Примечание

Количество

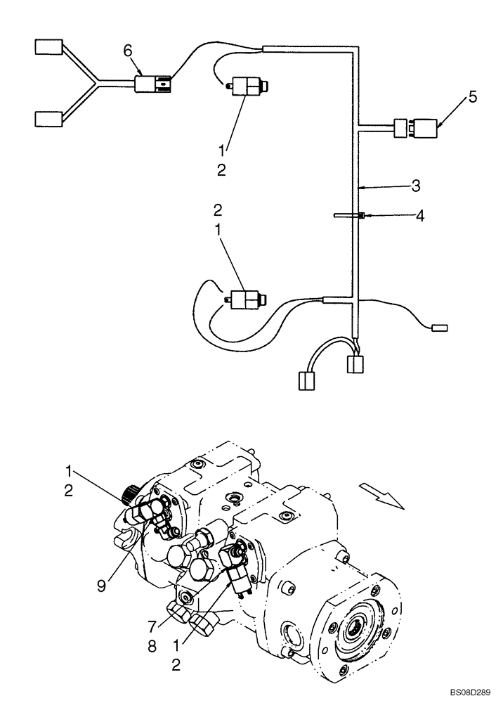
1

87047034

PRESSURE SWITCH

Brake Light Pressure Switch; Incl 2; If Used

2шт.

1

84155716

PRESSURE SWITCH

Brake Light Pressure Switch; Incl 2

2шт.

2

167269

O-RING,0.097" Thk x 0.755" ID, -910, Cl 6, 90 Duro

2шт.

3

87057451

WIRE HARNESS

Brake Light Harness; If used

1шт.

3

84149190

HARNESS

Brake Light Harness

1шт.

4

L11541

CABLE TIE,203.2mm L, Nylon

CABLE STRAP

3шт.

5

388457A1

RELAY

Time Delay Relay; If Used

1шт.

6

87734515

HARNESS

Brake Light Jumper Harness; If Used

1шт.

7

87546979

ADAPTER

Incl 8

2шт.

8

165202

O-RING,0.072" Thk x 0.351" ID, -904, Cl 6, 90 Duro

2шт.

9

86629586

90 ELBOW,9/16" - 18 JIC x 9/16" - 18 Fem Sw

1шт.

Выбрано товаров: 11