Запчасти Case IH 430 (08-30) - CONTROL VALVE - SPOOL END GROUP (08) - HYDRAULICS

Схема запчастей Case IH 430 - (08-30) - CONTROL VALVE - SPOOL END GROUP (08) - HYDRAULICS
5
8
6
4
2
8
3
7
7
3
1
1
5
4
2
4
6
1
FIT
1:1
100%

Артикул

Название

Примечание

Количество

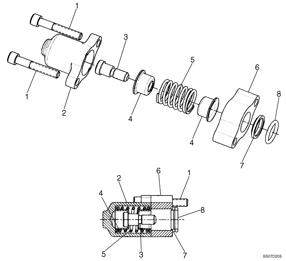
87576168

SPOOL

Spool End Group; Incl. 1 - 8

1шт.

1

NSS

NOT SOLD SEPARAT

Cap Screw

2шт.

2

NSS

NOT SOLD SEPARAT

Spool Cap

1шт.

3

NSS

NOT SOLD SEPARAT

Spool End

1шт.

4

NSS

NOT SOLD SEPARAT

Spring Seat

2шт.

5

NSS

NOT SOLD SEPARAT

Spring

1шт.

6

NSS

NOT SOLD SEPARAT

Plate - Seal

1шт.

7

NSS

NOT SOLD SEPARAT

Wiper

1шт.

8

NSS

NOT SOLD SEPARAT

O-Ring

1шт.

Выбрано товаров: 9