Запчасти Case IH 430 (06-11G) - PUMP, TANDEM - CONTROL CARTRIDGE WITH ORIFICE (87546976) (06) - POWER TRAIN

Схема запчастей Case IH 430 - (06-11G) - PUMP, TANDEM - CONTROL CARTRIDGE WITH ORIFICE (87546976) (06) - POWER TRAIN
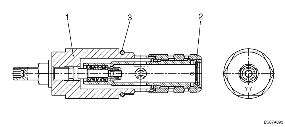
3
1
2
FIT
1:1
100%

Артикул

Название

Примечание

Количество

87043500

PUMP,46 CC

A22 Double Piston Pilot Control; See Figure 06-11 - 06-11G

1шт.

87043500R

REMAN-HYD PUMP

Remanufactured Hydraulic Pump

1шт.

87043500C

CORE-HYDRAULIC PUMP

Return Number

1шт.

87614027

CARTRIDGE

Control Cartridge With Orifice; Incl. 1 - 3

1шт.

1

87597283

CARTRIDGE

Control Cartridge Without Orifice

1шт.

2

87614030

ORIFICE

1шт.

3

87597284

O-RING

O-Ring

1шт.

Выбрано товаров: 7