Запчасти Case IH 430 (08-13) - CYLINDER - LIFT (08) - HYDRAULICS

Схема запчастей Case IH 430 - (08-13) - CYLINDER - LIFT (08) - HYDRAULICS
FIT
1:1
100%

Артикул

Название

Примечание

Количество

87438190

CYLINDER ASSY.

63.5mm (2 1/2 in.) Bore X 910mm (35 13/16 in.) Stroke; Incl. 1 - 7 And Seal Kit 86631598 Ref 8 - 14

2шт.

87705799R

REMAN-HYD CYLINDER

430 BSN N7M479684

2шт.

87705799C

Return Number

CORE-HYD CYLINDER

1шт.

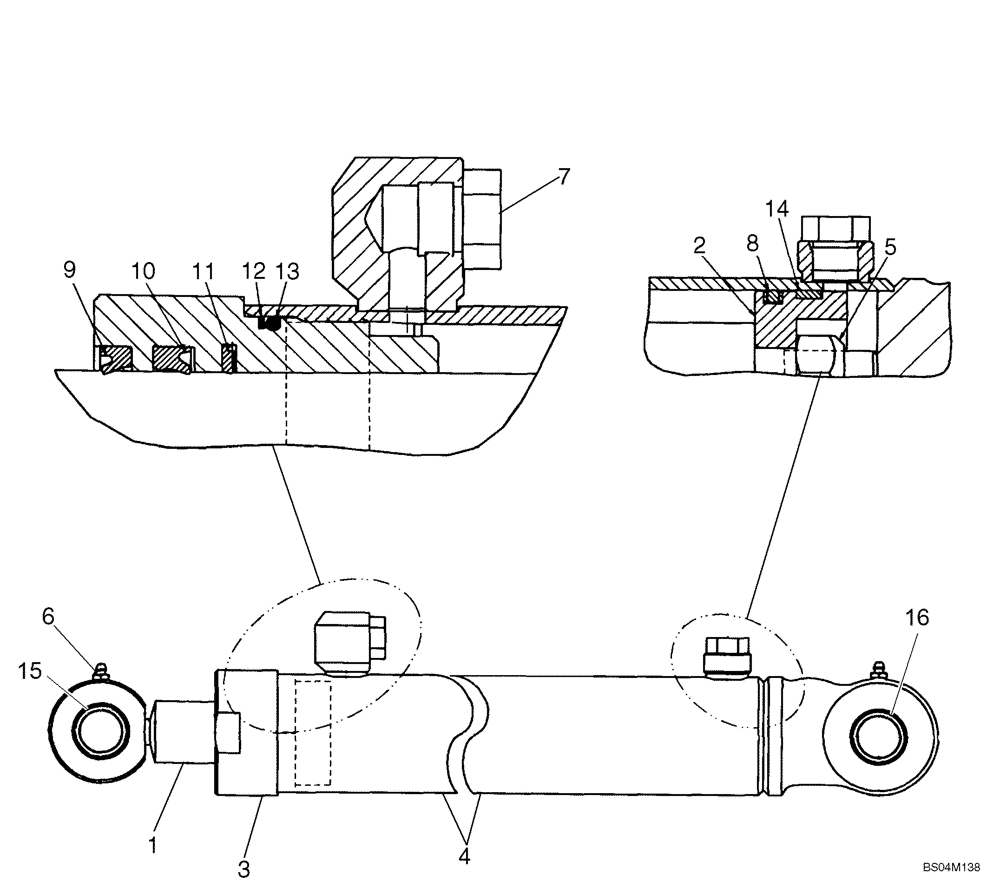
1

86611742

ROD

Piston, Incl. 15

1шт.

2

848220

PISTON

1шт.

3

86631597

HEAD (CYLINDER)

2.5 x 1.25

1шт.

4

86611740

CYLINDER

Tube, Incl. 16

1шт.

5

280724

LOCK NUT,3/4" - 16

1шт.

6

87414

LUBE NIPPLE,1/4" - 28

2шт.

7

214389

PLUG,3/4" - 16 ORB

1/2" OD Tube

2шт.

86631598

SEAL KIT

Seal, Incl. 8 - 14

1шт.

8

86563839

SEAL,53.34mm ID x 64.01mm OD x 6.99mm Thk

2.5

1шт.

9

86631610

WIPER SEAL,36.32mm ID x 50.95mm OD x 7.92mm Thk

1.5 Wiper

1шт.

10

86631607

SEAL,37.08mm ID x 52.58mm OD x 9.53mm Thk

1.5 Rod

1шт.

11

86631616

SEAL,37.85mm ID x 55.12mm OD x 3.12mm Thk

1.5 Buffer

1шт.

12

86512008

SEAL,60.89mm ID x 66.88mm OD x 1.27mm Thk

Backup

1шт.

13

52419

O-RING,0.139" Thk x 2.359" ID, -229, Cl 5, 75 Duro

1шт.

14

783874

WEAR RING,Split, 57.15mm ID x 63.5mm OD x 9.53mm Thk

1шт.

15

86624451

BUSHING

2шт.

16

86624450

BUSHING

2шт.

Выбрано товаров: 20