Запчасти Case IH 430 (08-35) - CONTROL VALVE - SPOOL END GROUP (08) - HYDRAULICS

Схема запчастей Case IH 430 - (08-35) - CONTROL VALVE - SPOOL END GROUP (08) - HYDRAULICS
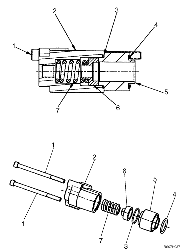
6
3
6
2
4
7
2
1
1
3
7
4
1
5
5
FIT
1:1
100%

Артикул

Название

Примечание

Количество

87546974

HYDRAULIC VALVE

Manual Control Valve; Models With Pilot Control; Incl. Figures 08-21 - 08-24, 08-27, 08-28, 08-30, 08-32 - 08-35

1шт.

87546975

HYDRAULIC VALVE

Manual Control Valve; Pilot Control Models With Hydraulic Attachment; Incl. Figures 08-21B - 08-24, 08-28, 08-30, 08-32 - 08-37

1шт.

87610531

SPOOL

Spool End Group; Incl. 1 - 7

1шт.

1

NSS

NOT SOLD SEPARAT

Cap Screw

2шт.

2

NSS

NOT SOLD SEPARAT

Spool Cap

1шт.

3

NSS

NOT SOLD SEPARAT

O-Ring

1шт.

4

NSS

NOT SOLD SEPARAT

O-Ring

1шт.

5

NSS

NOT SOLD SEPARAT

Retainer

1шт.

6

NSS

NOT SOLD SEPARAT

Spring Seat

1шт.

7

NSS

NOT SOLD SEPARAT

Spring

1шт.

Выбрано товаров: 0