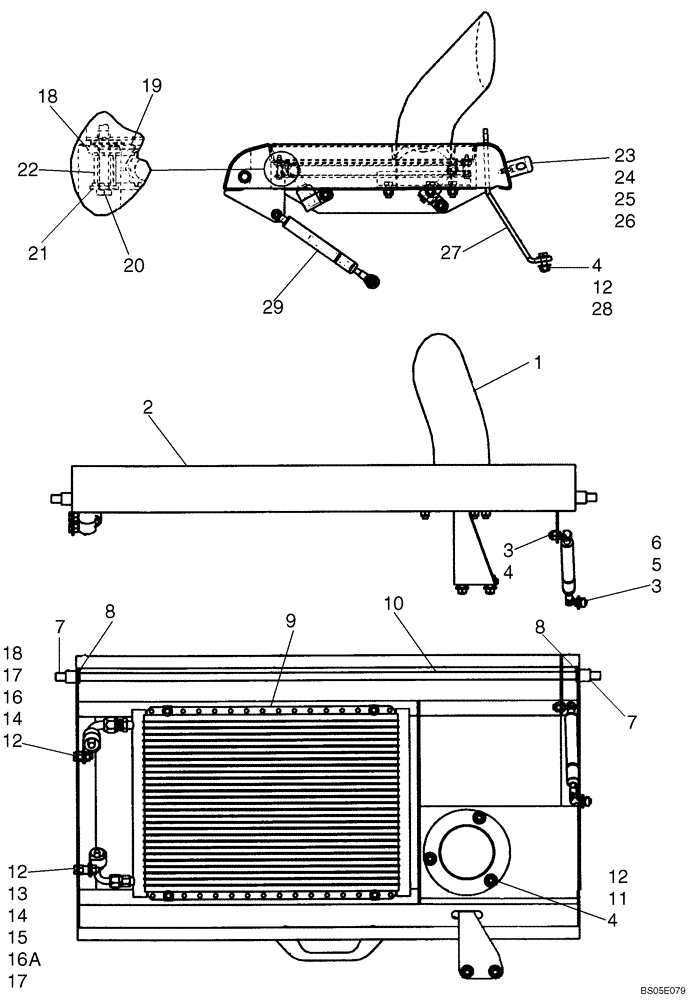
Запчасти Case IH 430 (09-16A) - HOOD - AIR CONDITIONING (09) - CHASSIS

Схема запчастей Case IH 430 - (09-16A) - HOOD - AIR CONDITIONING (09) - CHASSIS
17
23
8
10
7
7
12
18
12
15
4
16a
29
24
12
5
20
13
11
4
8
3
18
14
1
4
22
2
12
25
16
19
26
3
21
6
27
17
28
9
14
FIT
1:1
100%

Артикул

Название

Примечание

Количество

1

304811A1

EXTENSION,88.9 mm ID, 139.7 mm OD, 287.2 mm Length

Exhaust Extension

1шт.

1

87381264

TUBE,88.9 mm OD x 268, 63.5 mm L

Exhaust Extension; 268 mm (10.55 in) Tall;;Replaces 304811A1; If Used

1шт.

1

87725355

EXHAUST SYSTEM PIPE

Exhaust Extension; 243 mm (9.57 in) Tall; If Used

1шт.

2

87459074

HOOD

Models With Air Conditioning

1шт.

3

189609A1

BALL STUD,M8 x 1.25

M8 x 1.25

2шт.

4

9628098

NUT,M8 x 1.25, Cl 10

6шт.

5

896-15008

WASHER,9mm ID x 21mm OD x 2.5mm Thk

1шт.

6

229197A1

SQUARE NUT,M8 x 1.25, Cl 8

M8

1шт.

7

87305403

SPACER,13.51mm ID x 19.05mm OD x 17.5mm Thk

3/4 x .688 Tube

2шт.

8

9635806

CIRCLIP,Ext., 0.392" Dia

2шт.

9a

87563692

CONDENSER

Replaces 87515917

1шт.

10

87459075

ROD

Hood Pivot

1шт.

11

120104

BOLT,Hex, M8 x 1.25 x 20mm, Cl 8.8

3шт.

12

86625263

WASHER,9mm ID x 20mm OD x 1.6mm Thk

9-8шт.

13

386045

BOLT,Hex, M8 x 1.25 x 45mm, Cl 8.8

If Used

1шт.

13

300381

BOLT,Hex, M8 x 1.25 x 35mm, Cl 8.8

If Used

1шт.

14

9706690

NUT,M8 x 1.25, Cl 8

2шт.

15

254697A1

SPACER

1шт.

16

9827902

CLAMP,25.4mm, Coat, 10.3mm Bolt Hole, P Type

1шт.

16a

515-23222

CLAMP,7/8", Insul, 3/8" Bolt

Replaces 9827902; Used on some models

1шт.

17

9804277

FLANGE NUT,Hex, M8 x 1.25, Cl 8

2шт.

18

86592710

WASHER,6.4mm ID x 17mm OD x 3mm Thk

4шт.

19

87301324

NUT,Spring, M5 x 0.8

4шт.

20

86025725

BOLT,Hex, M5 x 40mm, Cl 8.8

Replace 86544168

4шт.

21

87013357

WASHER,5.5mm ID x 15mm OD x 1.6mm Thk

4шт.

22

87574372

SPACER,6.8mm ID x 10.3mm OD x 19mm L

Spacer, 1/8 Pipe X 19mm ZND; Replaces 87301392

4шт.

23

406256A1

HANDLE

1шт.

24

86511827

SCREW,Phillips Drive, Pan HD, M5 x 20mm, Cl 4.8

2шт.

25

893-11005

LOCK WASHER,Ext Tooth, M5

2шт.

26

86639241

NUT,Prev Torque, M5 x 0.8, Cl 8

2шт.

27

87459076

LOCKING BAR

Hood Latch

1шт.

28

43127

BOLT,Hex, M8 x 1.25 x 25mm, Cl 8.8

3шт.

29

87449854

SUPPORT

1шт.

Выбрано товаров: 33