Запчасти Case IH 430 (09-22A) - NOISE KIT - EUROPE (09) - CHASSIS

Схема запчастей Case IH 430 - (09-22A) - NOISE KIT - EUROPE (09) - CHASSIS
3
5
8
1
11
7
1
6
9
2
10
FIT
1:1
100%

Артикул

Название

Примечание

Количество

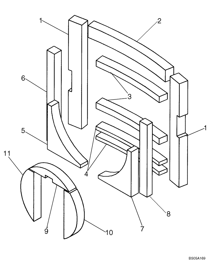
1

87460195

PAD

Rear Door

2шт.

2

87460196

PAD

Rear Door

1шт.

3

87460198

PAD

Rear Door

2шт.

4

87460199

PAD

Rear Door

2шт.

5

87460193

PAD

Fan Shroud; If Used

1шт.

6

87460192

PAD

Fan Shroud

1шт.

7

87460201

PAD

Fan Shroud; If Used

1шт.

8

87460191

PAD

Fan Shroud

1шт.

9

87460186

PAD

Engine

1шт.

10

87460187

PAD

Engine

1шт.

11

87460188

PAD

Engine

1шт.

Выбрано товаров: 11