Запчасти Case IH 430 (09-25G) - CAB DOOR - WIPER; USES WIPER MOTOR 87748779 (09) - CHASSIS

Схема запчастей Case IH 430 - (09-25G) - CAB DOOR - WIPER; USES WIPER MOTOR 87748779 (09) - CHASSIS
29
18
11
25
6
21
7
26
20
13
10
28
14
37
24
9
4
22
3
9
27
31
15
16
12
5
34
17
8
17
23
4
1
8
38
33
2
36
32
17
30
7
19
35
FIT
1:1
100%

Артикул

Название

Примечание

Количество

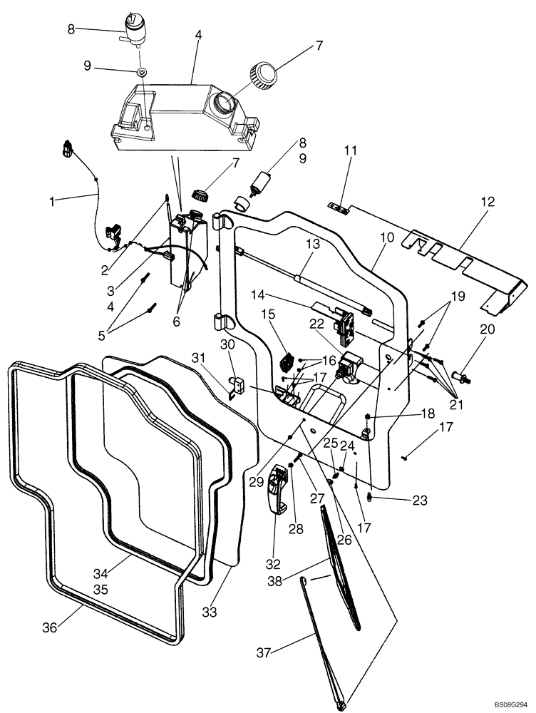
1

87460752

WIRE HARNESS

Door Harness

1шт.

2

87557068

FITTING

Barb Fitting

1шт.

3

87458048

WINDSHIELD WASHER

Washer Bottle Assembly; Incl 4, 7 - 9

1шт.

4

87458049

BOTTLE

Washer Bottle

1шт.

5

86511832

SCREW,Phillips Drive, Pan HD, M6 x 30mm, Cl 4.8

2шт.

6

9804276

FLANGE NUT,Hex, M6 x 1, Cl 8

2шт.

7

257884A1

CAP

Washer Bottle Cap

1шт.

8

87458050

PUMP

Washer Bottle Pump

1шт.

9

87458051

GROMMET

Washer Bottle Grommet

1шт.

10

87475586

DOOR

Cab Door

1шт.

11

87461244

DECAL

Decal, Windshield Wiper Switch

1шт.

12

87557064

DOOR COVER

1шт.

13

87558959

SHOCK ABSORBER

Gas Shock, 19 3/4 in. Extended Length X 7 13/16 in. Stroke

1шт.

14

87458047

LATCH

Rotary Latch

1шт.

15

87458055

SWITCH

Rotary Switch

1шт.

16

193-1003

NUT,Keps, w/LW,#6-32

2шт.

17

87462369

SCREW,Pan, #8 - 32 x 1/2"

4шт.

18

9804277

FLANGE NUT,Hex, M8 x 1.25, Cl 8

1шт.

19

86511830

SCREW,Phillips Drive, Pan HD, M6 x 20mm, Cl 4.8

2шт.

20

87462415

STOP

Striker Bolt

1шт.

21

86511831

SCREW,Phillips Drive, Pan HD, M6 x 25mm

4шт.

22

87748779

WIPER MOTOR

1шт.

23

189609A1

BALL STUD,M8 x 1.25

Gas Shock Ball Stud

1шт.

24

87035254

RETAINER

1шт.

25

490-1258

SCREW,Cross Pan Hd, 1/4"-28 x 1/2"

1шт.

26

87035253

COVER

Screw Cover

1шт.

27

86511832

SCREW,Phillips Drive, Pan HD, M6 x 30mm, Cl 4.8

1шт.

28

9804276

FLANGE NUT,Hex, M6 x 1, Cl 8

1шт.

29

87461216

GROMMET

1шт.

30

392269A2

SWITCH

Door Switch

1шт.

31

H435814

U-BOLT

1шт.

32

87458046

LOCKING HANDLE

Keyed Same As Ignition Key

1шт.

33

87461189

GLASS

Door Glass

1шт.

34

87459549

RUBBER STRIP,2489.2mm L

Strip, Zip Locking

1шт.

35

87459548

STRIP

Rubber Strip, Zip Locking

1шт.

36

87459550

DOOR SEAL,3327.4mm L

Bulb Seal, Door

1шт.

37

87475719

WIPER ARM

Wiper Arm, 22IN, Includes Nozzle

1шт.

38

87748799

WIPER BLADE

Wiper Blade, 18 in.

2шт.

Выбрано товаров: 38