Запчасти Case IH 430 (09-39C) - AIR CONDITIONING SWITCH KIT (09) - CHASSIS

Схема запчастей Case IH 430 - (09-39C) - AIR CONDITIONING SWITCH KIT (09) - CHASSIS
3
1
2
FIT
1:1
100%

Артикул

Название

Примечание

Количество

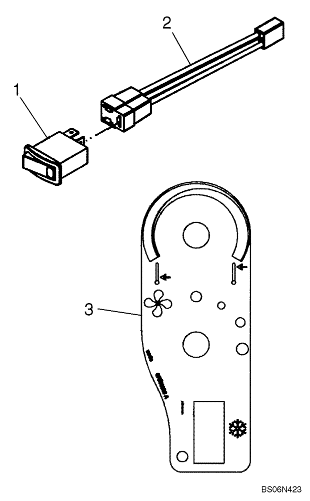
87583895

KIT

Air Conditioning Switch Kit; Incl. 1 - 3; See Figure 09-39 Ref 21

1шт.

1

87555249

SWITCH

A/C Switch

1шт.

2

87581931

HARNESS

AC Switch Jumper

1шт.

3

87558328

DECAL

Heater, A/C Controls

1шт.

Выбрано товаров: 4