Запчасти Case IH 435 (06-23) - MOTOR ASSY - TWO SPEED (06) - POWER TRAIN

Схема запчастей Case IH 435 - (06-23) - MOTOR ASSY - TWO SPEED (06) - POWER TRAIN
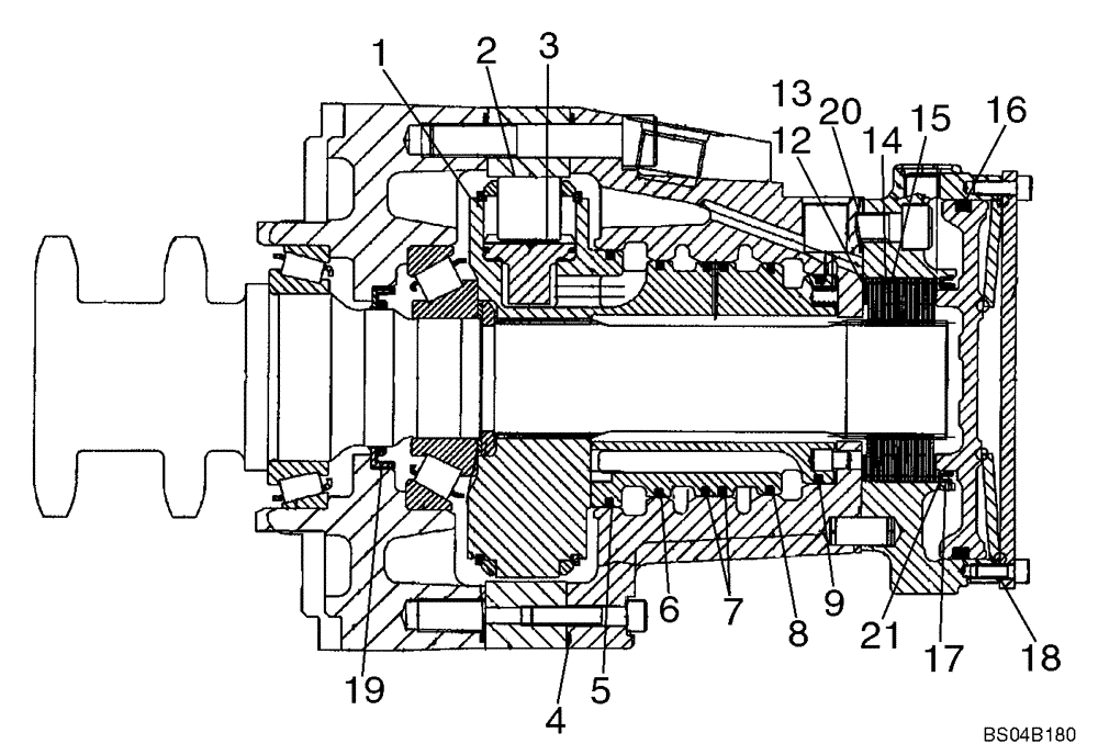
12
2
1
4
18
13
5
19
3
17
9
6
20
15
8
14
21
16
7
FIT
1:1
100%

Артикул

Название

Примечание

Количество

87035452

HYDRAULIC MOTOR

Two Speed; Incl. Figure 06-21 - 06-23

2шт.

87035452R

Remanufactured Hydraulic Motor

REMAN-HYD MOTOR

2шт.

87035452C

Return Number

CORE-MOTOR HYDRAULIC

2шт.

87039369

KIT

Rotating; Incl. 1 - 3

1шт.

1

NSS

NOT SOLD SEPARAT

Cylinder Block

1шт.

2

NSS

NOT SOLD SEPARAT

Roll

8шт.

3

NSS

NOT SOLD SEPARAT

Piston S/A

8шт.

87039371

SEAL KIT

Incl. 4 - 11, 19

1шт.

4

NSS

NOT SOLD SEPARAT

Square Ring; 213 x 2.51

2шт.

5

NSS

NOT SOLD SEPARAT

Piston Seal; 107.25

1шт.

6

NSS

NOT SOLD SEPARAT

Piston Seal; 98.725

1шт.

7

NSS

NOT SOLD SEPARAT

Piston Seal; 97.725

2шт.

8

NSS

NOT SOLD SEPARAT

Piston Seal; 96.725

1шт.

9

NSS

NOT SOLD SEPARAT

Piston Seal; 87.25

1шт.

10

NSS

NOT SOLD SEPARAT

O-Ring; 11.90 x 1.98; For Illustration, See Figure 06-22, Ref 19

1шт.

11

NSS

NOT SOLD SEPARAT

O-Ring; 8.92 x 1.83; For Illustration, See Figure 06-22, Ref 14

1шт.

87039372

KIT

Brake; Incl. 12 - 18

1шт.

12

NSS

NOT SOLD SEPARAT

Shim; 80 x 63 x 0.1

1шт.

13

NSS

NOT SOLD SEPARAT

Shim; 80 x 63 x 0.3

1шт.

14

NSS

NOT SOLD SEPARAT

Inner Plate

14шт.

15

NSS

NOT SOLD SEPARAT

Outer Plate

16шт.

16

NSS

NOT SOLD SEPARAT

Square Ring; 139.07 x 5.16

1шт.

17

NSS

NOT SOLD SEPARAT

O-ring; 75.92 x 1.78

1шт.

18

NSS

NOT SOLD SEPARAT

Gasket; 0.5

1шт.

19

87042907

SEAL

57.15

1шт.

20

87042919

O-RING,1.78mm Thk x 107.67mm ID

107.67 x 1.78

1шт.

21

87042924

RING

Brake Seal Ring

1шт.

Выбрано товаров: 27