Запчасти Case IH 435 (09-12) - LINKAGE - LOADER AND GROUND DRIVE (09) - CHASSIS

Схема запчастей Case IH 435 - (09-12) - LINKAGE - LOADER AND GROUND DRIVE (09) - CHASSIS
4
23
15
18
1
19
29
20
21
35
12
15
1
22
6
20
31
17
21
30
10
9
19
32
28
20
16
21
34
18
4
4
13
15
36
33
20
5
5
5
21
22
16
24
24
14
27
3
14
8
37
25
26
25
14
9
17
1
2
7
15
5
2
FIT
1:1
100%

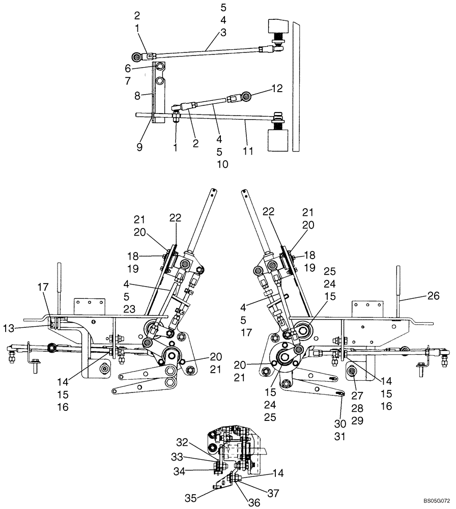
Артикул

Название

Примечание

Количество

1

80855

NUT,Hex, 3/8" - 24

3шт.

2

230425A1

BALL JOINT,3/8" - 24 x 1-3/5"

3/8 fem

2шт.

3

87019387

ROD

240 mm

1шт.

4

86509310

NUT,3/8" - 24, Gr 5

4шт.

5

87030547

NUT,3/8" - 24, LH Thd, Gr 5

4шт.

6

87030507

BOLT

.312 x 1.25

2шт.

7

86625263

WASHER,9mm ID x 20mm OD x 1.6mm Thk

2шт.

8

87018811

ANGLE

Bushing Support

1шт.

9

330147A1

NYLON BEARING,11.1 mm ID x 15.9 mm OD x 5.1 mm

Nylon

1шт.

10

330142A1

ROD

Left Hand Control

1шт.

11

87445118

ROD

Right Hand Control

1шт.

12

230426A1

BALL JOINT,3/8" - 24 x 1-3/5"

Fem 3/8-24 LH W/Hex Drive

2шт.

13

87397

COTTER PIN,3/16" OD x 1" L

1шт.

14

43140

BOLT,Hex, M10 x 1.5 x 30mm, Cl 8.8

6шт.

15

140017

WASHER,M10 x 20mm OD x 2mm Thk

4шт.

16

43435

FLANGE NUT,Hex, M10 x 1.5

4шт.

17

87036587

PIN

Pin, .500 x 4.500

1шт.

18

87030555

BOLT,Hex, M6 x 16mm, Cl 8.8

M6 x 16

2шт.

19

86625237

WASHER,0.28" ID x 0.88" OD x 0.1" Thk

2шт.

20

87015862

BOLT,Hvy Hex, M6 x 20mm, Cl 8.8, Full Thd

12шт.

21

86511444

FLANGE NUT,Hex, M6 x 1

12шт.

22

112380A1

BEARING ASSY

Incl 465004R91

4шт.

465004R91

BEARING ASSY,0.6693" ID x 1.5748" OD x 0.4724"

Ball

1шт.

23

180682A1

STEM

185,5 mm

2шт.

24

237773A1

LEVER ASSY.

Arm Crank

2шт.

25

9861444

BOLT,Hex, M10 x 1.5 x 20mm, Cl 10.9

2шт.

26

87455482

LEVER

Manual Override

1шт.

27

87825

NUT,#10-32

2шт.

28

86624183

WASHER,6.6mm ID x 25mm OD x 1.6mm Thk

2шт.

29

103777A1

SEALING WASHER

1/4

2шт.

30

234726

CLEVIS PIN,6.29mm OD x 20mm L

2шт.

31

D131983

COTTER PIN,1.04mm OD x 21.4mm L, Ring

2шт.

32

87445120

LINKAGE

2шт.

33

80702

WASHER,0.44" ID x 1" OD x 0.08" Thk

2шт.

34

641419

WASHER,0.41" ID x 0.88" OD x 0.18" Thk

2шт.

35

87445121

LINKAGE

2шт.

36

140045

BELLEVILLE WASHER,M10 Bolt Size x 22mm OD x 1.6mm Thk

2шт.

37

86500689

NUT,M10 x 1.5, Cl 10

2шт.

Выбрано товаров: 38