Запчасти Case IH 435 (09-38) - HEATER AND AIR CONDITIONING ASSY (09) - CHASSIS

Схема запчастей Case IH 435 - (09-38) - HEATER AND AIR CONDITIONING ASSY (09) - CHASSIS
17
13
5
2
15
10
9
14
8
18
1
7
4
11
3
12
6
6
FIT
1:1
100%

Артикул

Название

Примечание

Количество

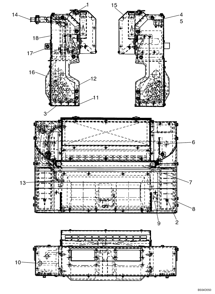
87029158

Heater A/C Assy; Incl. 1 -18

1шт.

1

290502

PIN

5/8 Heater Hose

2шт.

2

87035459

VENT (AIR)

Louver #2451-A

2шт.

3

87029691

ELEMENT

Paper Filter

1шт.

3

87681240

CAB FILTER,367mm L x 108mm W x 24mm Thk, Charcoal

Charcoal Filter

1шт.

4

87029708

GASKET

Expansion Valve

1шт.

5

87029709

BRACKET

Expansion Valve

1шт.

6

87029711

EVAPORATOR

Incl. 6A, 6B

1шт.

6a

87035782

VALVE

Expansion Valve; Not Illustrated

1шт.

7

87029694

CORE

Heater

1шт.

8

87029693

COVER

Channel

1шт.

9

86625480

THERMOSTATIC SWITCH

Cold Control

1шт.

10

87029687

CASE

1шт.

11

87029690

PANEL

Blower

1шт.

12

87029689

BLOWER ASSY.

1шт.

12

87383273R

435 SKID STEER - BSN N7M425032, ASSY (3/04-12/07), Reman for New PN 87029689

REMAN-BLOWER

1шт.

12

87383273C

Return Number

CORE-BLOWER

1шт.

13

87035460

WIRE HARNESS

Heater, A/C

1шт.

14

87035457

TUBE,0.625" DIA x 1.585" L

2шт.

15

87033934

AIR DUCT

Incl. 15A

1шт.

15a

87033906

GRILLE

Not Illustrated

1шт.

16

87029688

COVER

Blower

1шт.

17

87029704

PAN

Drain Pan

1шт.

18

87029705

PAD

Foam, Drain Pan

1шт.

Выбрано товаров: 0