Запчасти Case IH 435 (06-23) - MOTOR ASSY - TWO SPEED (06) - POWER TRAIN

Схема запчастей Case IH 435 - (06-23) - MOTOR ASSY - TWO SPEED (06) - POWER TRAIN
12
16
15
4
7
13
11
20
5
9
8
1
22
2
17
10
19
14
6
18
24
3
21
25
23
FIT
1:1
100%

Артикул

Название

Примечание

Количество

87035452

HYDRAULIC MOTOR

Two Speed

2шт.

87035452R

Remanufactured Hydraulic Motor

REMAN-HYD MOTOR

2шт.

87035452C

Return Number

CORE-MOTOR HYDRAULIC

2шт.

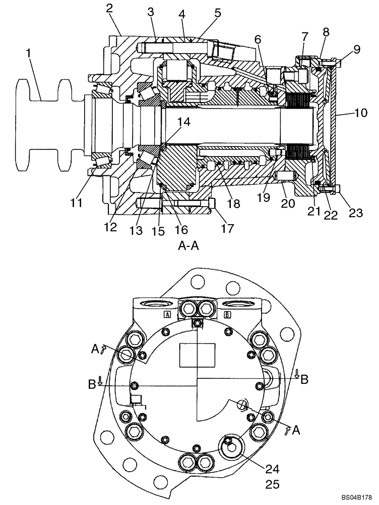
1

87039360

BEARING ASSY

Shaft And Bearing

1шт.

2

87042941

CASE

Front

1шт.

3

861-14080

HEX SOC SCREW,M14 x 80mm, Cl 12.9

10шт.

4

87042908

CAM

680/470

1шт.

5

87042909

CASE

1шт.

6

87042912

SPRING

16шт.

7

86512142

HEX SOC SCREW,M12 x 30mm, Cl 12.9, Full Thd

5шт.

8

87042921

HOUSING

Brake

1шт.

9

87042926

SPRING

Disc

1шт.

10

87042923

COVER

End

1шт.

11

87042904

BALL BEARING,70 mm ID x 110 mm OD x 25 mm

70 x 110 x 25

1шт.

12

87042905

BALL BEARING,50mm ID x 110mm OD x 29.25mm W

50 x 110 x 29.25

1шт.

13

87042903

KIT

Washer

1шт.

14

87042906

RING

Split

1шт.

15

NSS

NOT SOLD SEPARAT

1шт.

16

NSS

NOT SOLD SEPARAT

1шт.

17

861-8040

HEX SOC SCREW,M8 x 40mm, Cl 12.9

2шт.

18

87042910

DISTRIBUTOR

1шт.

19

87042911

PIN

Stop

1шт.

20

87042927

PIN

12 x 25

3шт.

21

87042925

CLIP

87 ID

1шт.

22

87042922

PISTON

Brake

1шт.

23

86512134

HEX SOC SCREW,M6 x 16mm, Cl 12.9

12шт.

24

214389

PLUG,3/4" - 16 ORB

Includes Ref. 25

1шт.

25

128825

O-RING,0.087" Thk x 0.644" ID, -908, Cl 6, 90 Duro

1шт.

Выбрано товаров: 28