Запчасти Case IH 435 (02-24) - PISTON - ENGINE (87380450) (02) - ENGINE

Схема запчастей Case IH 435 - (02-24) - PISTON - ENGINE (87380450) (02) - ENGINE
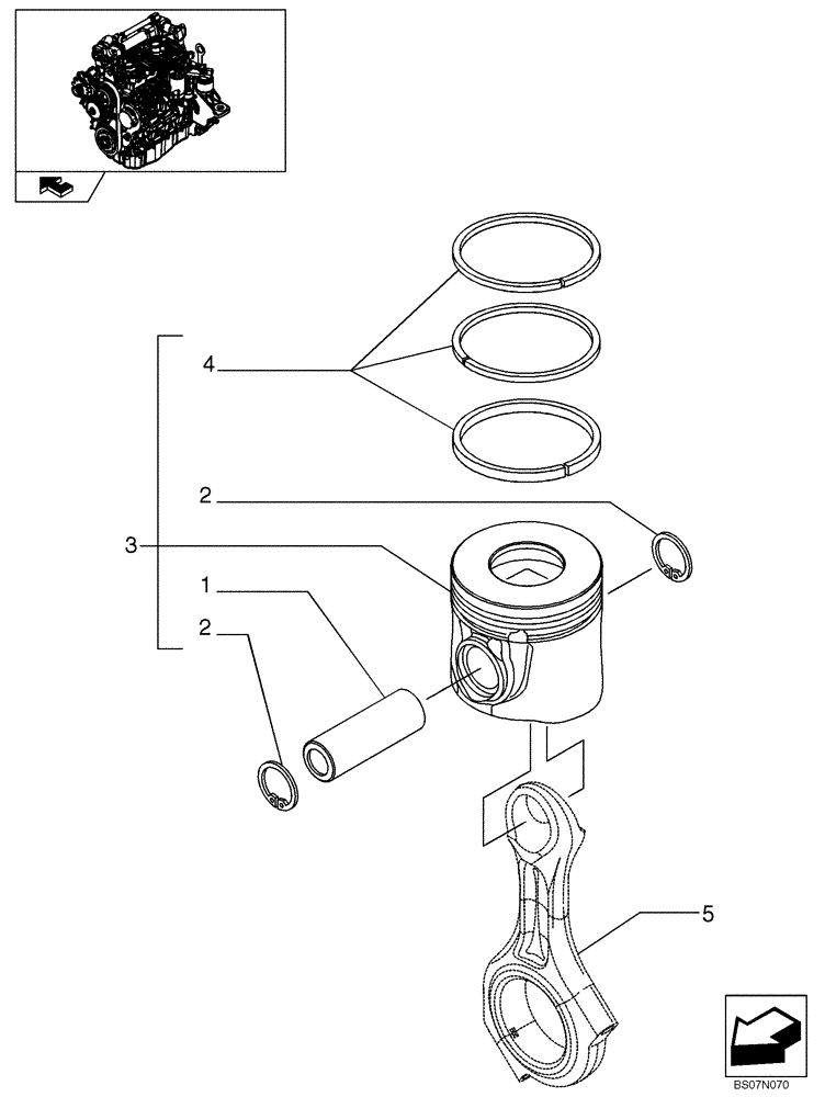
5
1
2
2
4
3
FIT
1:1
100%

Артикул

Название

Примечание

Количество

1

4892712

PISTON PIN,38mm OD x 82mm L

4шт.

2

504051611

LOCK WASHER

8шт.

3

8097546

PISTON ASSY

+0.0

4шт.

3

8097548

PISTON ASSY +0.4

4шт.

3

8097545

PISTON RING SET

+0.0

4шт.

4

8097547

SET,PISTON RINGS+0.4

SET OF PISTON RINGS +0.4

4шт.

4

87316944

SET,PISTON RINGS+0.4

SET OF PISTON RINGS +0.4

4шт.

4

87316959

SET PISTON RINGS+0.8

4шт.

5

504113130

CONNECTING ROD

Refer to Figure 02-23

4шт.

Выбрано товаров: 9