Запчасти Case IH 440 (06-20) - MOTOR ASSY - SINGLE SPEED (06) - POWER TRAIN

Схема запчастей Case IH 440 - (06-20) - MOTOR ASSY - SINGLE SPEED (06) - POWER TRAIN
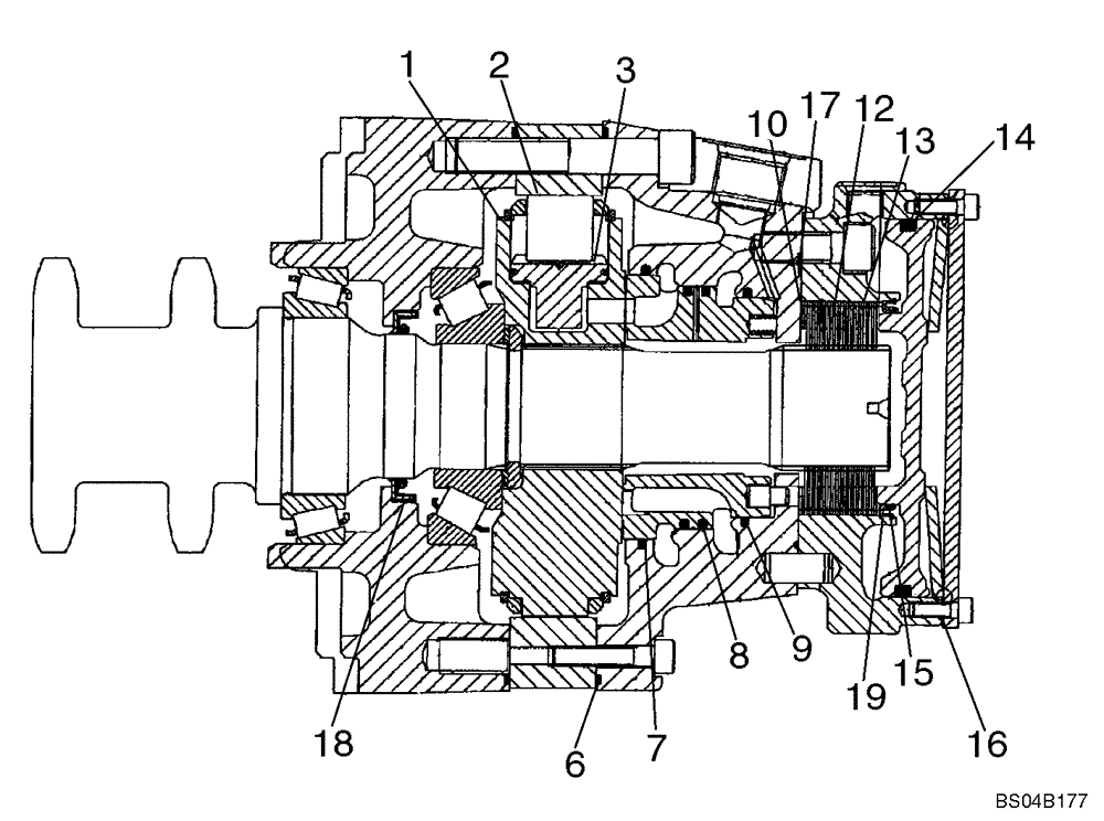
10
18
9
12
6
3
2
15
1
14
13
16
19
8
17
7
FIT
1:1
100%

Артикул

Название

Примечание

Количество

87035341

HYDRAULIC MOTOR,470CC

One Speed; Incl. Figure 06-18 - 06-20

2шт.

87035341R

REMAN-HYD MOTOR

REMANUFACTURED HYD MOTOR

2шт.

87035341C

Return Number, HYD MOTOR

CORE-MOTOR HYDRAULIC

2шт.

87039368

KIT

Brake; Incl. 1 - 3

1шт.

1

NSS

NOT SOLD SEPARAT

Cylinder Block

1шт.

2

NSS

NOT SOLD SEPARAT

Roll

8шт.

3

NSS

NOT SOLD SEPARAT

Piston S/A

8шт.

87039370

SEAL KIT

Seal; Incl. 4 - 9

1шт.

4

NSS

NOT SOLD SEPARAT

O-Ring; 11.90 x 1.98; For Illustration, See Figure 06-19, Ref 12

1шт.

5

NSS

NOT SOLD SEPARAT

O-Ring; 8.92 x 1.83; For Illustration, See Figure 06-19, Ref 7

1шт.

6

NSS

NOT SOLD SEPARAT

Square Ring; 213 x 2.51

2шт.

7

NSS

NOT SOLD SEPARAT

Rod Seal; 105

1шт.

8

NSS

NOT SOLD SEPARAT

Piston Seal; 96.5

1шт.

9

NSS

NOT SOLD SEPARAT

Rod Seal; 87.15

1шт.

87039372

KIT

Rotating; Incl. 10 - 16

1шт.

10

NSS

NOT SOLD SEPARAT

Shim; 80 x 63 x 0.1

1шт.

11

NSS

NOT SOLD SEPARAT

Shim; 80 x 63 x 0.3

1шт.

12

NSS

NOT SOLD SEPARAT

Inner Plate

14шт.

13

NSS

NOT SOLD SEPARAT

Outer Plate

16шт.

14

NSS

NOT SOLD SEPARAT

Square Ring; 139.07 x 5.16

1шт.

15

NSS

NOT SOLD SEPARAT

O-ring; 75.92 x 1.78

1шт.

16

NSS

NOT SOLD SEPARAT

Gasket; 0.5

1шт.

17

87042919

O-RING,1.78mm Thk x 107.67mm ID

107.67 x 1.78

1шт.

18

87042907

SEAL

57.15

1шт.

19

87042924

RING

Brake Seal

1шт.

Выбрано товаров: 0