Запчасти Case IH 440 (08-05) - HYDRAULICS - RIDE CONTROL (08) - HYDRAULICS

Схема запчастей Case IH 440 - (08-05) - HYDRAULICS - RIDE CONTROL (08) - HYDRAULICS
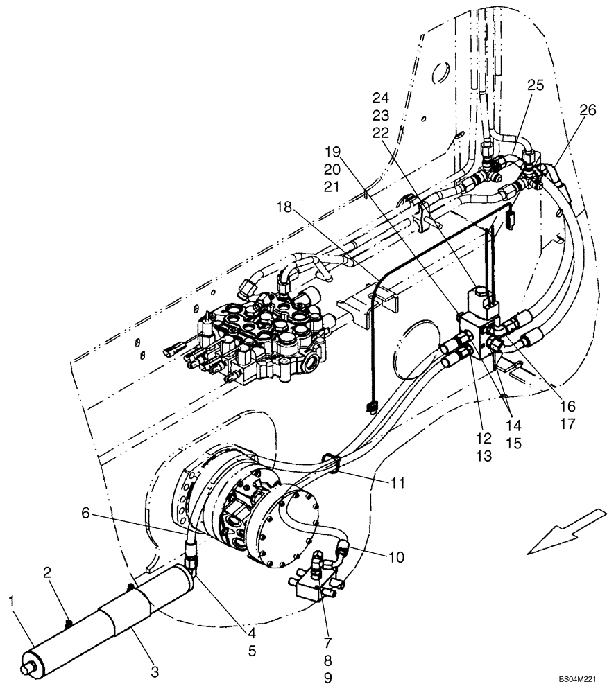
12
17
7
3
16
1
6
25
15
5
19
8
2
13
18
22
26
4
24
10
11
23
9
14
21
20
FIT
1:1
100%

Артикул

Название

Примечание

Количество

1

87403797

ACCUMULATOR,275 Bar, 0.75L

Hydraulic

1шт.

2

86624194

HOSE CLAMP,1.81” - 2.75”, Worm Gear

2шт.

3

384260A1

WARNING DECAL,168mm x 88mm H

Pressurized System

1шт.

4

128830

90 ELBOW,3/4" - 16 JIC x 3/4" - 16 ORB

Incl. 5

1шт.

5

128825

O-RING,0.087" Thk x 0.644" ID, -908, Cl 6, 90 Duro

1шт.

6

87441310

HOSE ASSY.

Valve To Accumulator

1шт.

7

L104616

TEE,9/16" - 18 JIC x 9/16" - 18 JIC x 9/16" - 18 ORB

Incl. 8

1шт.

8

238-6011

O-RING,0.07" Thk x 0.301" ID, -11, Cl 6, 90 Duro

1шт.

9

574342

CAP,9/16" - 18 JIC

1шт.

10

87456974

HOSE ASSY.

Valve To Tank

1шт.

11

L18331

CABLE TIE,375.9mm L, Nylon, Black

CABLE STRAP

1шт.

12

76350

HYD CONNECTOR,9/16" - 18 ORB x 9/16" - 18 JIC

Incl 13

1шт.

13

9617873

O-RING,0.078" Thk x 0.468" ID, -906, Cl 6, 90 Duro

1шт.

14

86509028

HYD CONNECTOR,3/4" - 16 JIC x 9/16" - 18 ORB

Incl. 15

2шт.

15

9617873

O-RING,0.078" Thk x 0.468" ID, -906, Cl 6, 90 Duro

1шт.

16

86512938

90 ELBOW,90 Degree, 37 Degree 3/4"-16 x 9/16"-18 ORB

Incl. 17

1шт.

17

9617873

O-RING,0.078" Thk x 0.468" ID, -906, Cl 6, 90 Duro

1шт.

18

310838A1

HARNESS

Ride Control

1шт.

19

120062

BOLT,Hex, M8 x 70mm, Cl 8.8

2шт.

20

140016

WASHER,M8 x 16mm OD x 1.6mm Thk

2шт.

21

229197A1

SQUARE NUT,M8 x 1.25, Cl 8

M8 x 1.25

2шт.

22

87428444

VALVE

Ride Control; Solenoid; Incl. 23, 24

1шт.

23

87424684

SEAL KIT

Gasket; Not Illustrated

1шт.

24

87424685

REPAIR KIT

Solenoid; Not Illustrated

1шт.

25

87441313

HOSE ASSY.

Valve To Cylinder Base

1шт.

26

87441312

HOSE ASSY.

Valve To Cylinder Rod End

1шт.

Выбрано товаров: 26