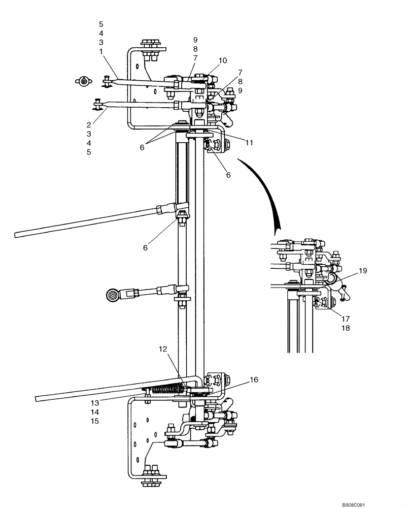
Запчасти Case IH 440 (09-13B) - CONTROLS - LOADER AND GROUND DRIVE (ROUND LINKAGE LINKS, IF USED, SEE FIGURE 09-13B REF 1, 2) (09) - CHASSIS

Схема запчастей Case IH 440 - (09-13B) - CONTROLS - LOADER AND GROUND DRIVE (ROUND LINKAGE LINKS, IF USED, SEE FIGURE 09-13B REF 1, 2) (09) - CHASSIS
9
17
6
19
4
2
5
3
8
12
4
9
3
14
15
6
18
6
7
11
16
1
10
5
7
13
8
FIT
1:1
100%

Артикул

Название

Примечание

Количество

REF

INSTRUCTION

Assy With Round Linkage Links, See Ref 1, 2

1шт.

1

87458660

ROD

Round, Linkage Link, Valve Lift

1шт.

2

87458662

ROD

Round, Linkage Link, Valve Tip

1шт.

3

86509310

NUT,3/8" - 24, Gr 5

2шт.

4

234726

CLEVIS PIN,6.29mm OD x 20mm L

2шт.

5

D131983

COTTER PIN,1.04mm OD x 21.4mm L, Ring

Cotter Ring

2шт.

6

87309725

CIRCLIP

#62

4шт.

7

86500348

BALL JOINT HEAD,3/8" - 24

.38

2шт.

8

88011

BOLT,Hex, 3/8" - 16 x 1 1/4", Gr 5

2шт.

9

9628503

NUT,3/8"-16, G5

2шт.

10

87016

WASHER,0.41" ID x 0.81" OD x 0.07" Thk

If Used

2шт.

11

87309726

RING

#75

1шт.

12

120952A1

SPRING

1шт.

13

43117

SCREW,Hex, M6 x 1.0 x 30mm, Cl 8.8

1шт.

14

86500688

NUT,Hex, M6 x 1.0, Cl 10.9

1шт.

15

87030561

NUT,M6 x 1, Cl 8

1шт.

16

409856A1

SPACER

Control Pivot Shaft

1шт.

17

87608769

COLLAR

If Used

1шт.

18

86516064

SET SCREW,M6 x 6mm, Cl 12.9

If Used

1шт.

19

86512328

WASHER,19.46mm ID x 35.05mm OD x 3.43mm Thk

If Used

1шт.

Выбрано товаров: 0