Запчасти Case IH 440 (06-02C) - MOTOR - MOUNTING (440) (06) - POWER TRAIN

Схема запчастей Case IH 440 - (06-02C) - MOTOR - MOUNTING (440) (06) - POWER TRAIN
13
7
16
10
2
11
6
9
15
1
14
9
5
3
12
4
10
8
FIT
1:1
100%

Артикул

Название

Примечание

Количество

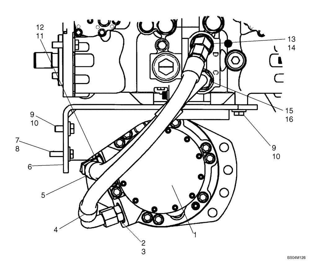
1

87035341

HYDRAULIC MOTOR,470CC

See Figure 06-18 - 06-20

2шт.

1

87035341R

REMAN-HYD MOTOR

REMANUFACTURED HYD MOTOR

2шт.

1

87035341C

Return Number, HYD MOTOR

CORE-MOTOR HYDRAULIC

2шт.

2

322896

HYD CONNECTOR,1-1/16" - 12 ORB x 1-1/16" - 12 JIC

Incl 3

1шт.

3

167266

O-RING,0.116" Thk x 0.924" ID, -912, Cl 6, 90 Duro

1шт.

4

87022172

HOSE ASSY.,19.05mm ID x 650mm L

1шт.

5

87417085

HOSE ASSY.,19.05mm ID x 445mm L

1шт.

6

87020365

SUPPORT ASSY.

Pump support

1шт.

7

120068

BOLT,Hex, M10 x 40mm, Cl 8.8

2шт.

8

86624186

WASHER,0.41" ID x 1.12" OD x 0.13" Thk

2шт.

9

43260

BOLT,Hex, M12 x 1.75 x 30mm, Cl 10.9, Full Thd

4шт.

10

86625256

WASHER,13.3mm ID x 28.5mm OD x 4mm Thk

8шт.

11

322894

90 ELBOW,1-1/16" - 12 JIC x 1-1/16" - 12 ORB

Incl. 12

1шт.

12

167266

O-RING,0.116" Thk x 0.924" ID, -912, Cl 6, 90 Duro

1шт.

13

22907

ELBOW,0.50" ID x 175.00", SAE J517, SAE J516, SAE J846, SAE J1273

Incl. 14

1шт.

14

167268

O-RING,0.116" Thk x 1.171" ID, -916, Cl 6, 90 Duro

1шт.

15

233705

HYD CONNECTOR,1-5/16" - 12 ORB x 1-1/16" - 12 JIC

Incl. 16

1шт.

16

167266

O-RING,0.116" Thk x 0.924" ID, -912, Cl 6, 90 Duro

1шт.

Выбрано товаров: 0